
近日,据NMPA官网公示,江苏恒瑞医药的3类仿制药注射用塞替派获批上市并视同过评,是国产首家过评。据药融云数据显示,目前国内已上市的塞替派制剂仅塞替派注射液一种,且仅2家企业拥有生产批文。

截图来源:NMPA
塞替派是乙烯亚胺类烷化剂的代表,主要用于治疗卵巢癌、乳腺癌、膀胱癌和消化道癌,同时还适用于成人和儿童患者自体或同种基因造血祖细胞移植前的预处理。据药融云数据统计,注射用塞替派在全国医院内的上线销售额呈现出稳健的增长趋势。2022年销售额达5447万元,同比增长达163%,2023年在全国院内(数据截至2023年Q3)市场销售额突破1亿元,同比增长达120%。

截图来源:药融云全国医院销售数据库
目前前国内已上市的塞替派制剂仅塞替派注射液一种,且仅黑龙江福和制药集团、上海旭东海普药业2家企业拥有生产批文。

截图来源:药融云中国药品批文数据库
在仿制药布局方面,国内还有四川汇宇制药、四川汇宇海玥医药2家药企提交了塞替派注射液的仿制申请,均在审评审批中。
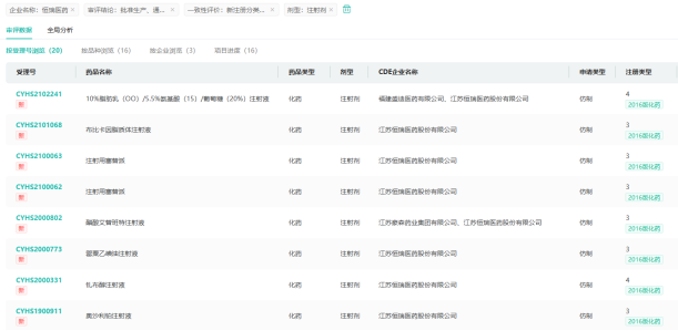
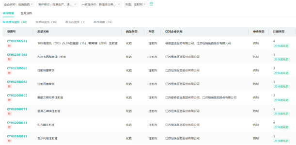
在注射剂领域,恒瑞医药以其出色的研发实力,抢占一席之地。该公司成功获批并过评了丙泊酚中/长链脂肪乳注射液、奥沙利铂注射液、10%脂肪乳(OO)/5.5%氨基酸(15)/葡萄糖(20%)注射液等16款注射剂仿制药,这些药物涵盖于抗肿瘤、神经系统用药、消化系统与代谢药、血液和造血系统用药等多个领域。

截图来源:药融云过评药品汇总数据库
目前恒瑞医药已有碘佛醇注射液、他克莫司缓释胶囊、吸入用七氟烷、盐酸右美托咪定氯化钠注射液等39个品种首家过评。2024年至今,塞替派注射液是恒瑞首个过评的品种。
<END>
要解锁更多企业药品研发信息吗?查询药融云数据库(vip.pharnexcloud.com/?zmt-mhwz)掌握药品各国上市情况、药品批文信息、销售情况与各维度分析、市场竞争格局、一致性评价情况、集采中标情况、药企申报审批信息、最新动态与前景等,以及帮助企业抉择可否投入时提供数据参考!注册立享15天免费试用!








川公网安备51019002008863号
本网站未发布麻醉药品、精神药品、医疗用毒性药品、放射性药品、戒毒药品和医疗机构制剂的产品信息
收藏
登录后参与评论
暂无评论