
6月11日,据NMPA官网公示,四川科伦药业的复方醋酸钠林格注射液通过一致性评价。据药融云数据库显示,该品种在2022年全国院内市场销售额超10亿元。

截图来源:NMPA官网
复方醋酸钠林格注射液是第四代电解质(钠、钾、镁、钙离子)补充剂,临床用于循环血量及组织间液减少时的细胞外液的补充,代谢性酸中毒的纠正。据药融云数据库显示,复方醋酸钠林格注射液在2022年全国院内市场销售额超10亿元。

截图来源:药融云全国医院销售数据库
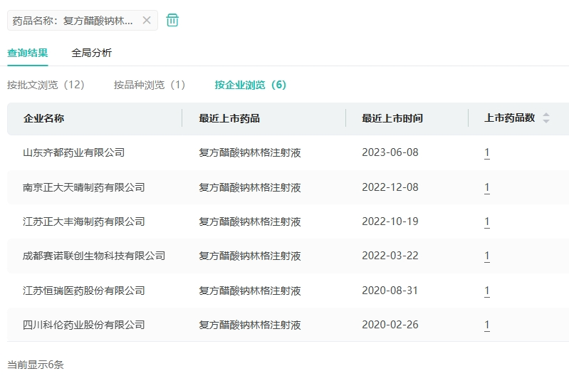
目前,复方醋酸钠林格注射液有6家企业拥有生产批文,其中四川科伦药业、江苏恒瑞医药、南京正大天晴制药、山东齐都药业、江苏正大丰海制药5家药企过评。

截图来源:药融云中国药品批文数据库
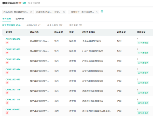
在仿制药布局方面,复方醋酸钠林格注射液有石家庄四药、河北仁合益康药业、宜昌人福药业等12家药企提交了3类仿制申请,均在审评审批中。

截图来源:药融云中国药品审评数据库
除复方醋酸钠林格注射液,今年(截止6月11日)科伦药业(含子公司)有奥拉帕利片、注射用头孢唑林钠、艾曲泊帕乙醇胺片等9个品种过评,其中ω-3甘油三酯(2%)中长链脂肪乳/氨基酸(16)/葡萄糖(16%)注射液、艾曲泊帕乙醇胺片2个品种迎来首家过评并斩获首仿。
参考来源:
[1] NMPA官网
[2] 药融云数据库
<END>
想要解锁更多药物研发信息吗?查询药融云数据库(vip.pharnexcloud.com/?zmt-mhwz)掌握药物基本信息、市场竞争格局、销售情况与各维度分析、药企研发进展、临床试验情况、申报审批情况、各国上市情况、最新市场动态、市场规模与前景等,以及帮助企业抉择可否投入时提供数据参考!注册立享15天免费试用!








浙公网安备33011002015279
本网站未发布麻醉药品、精神药品、医疗用毒性药品、放射性药品、戒毒药品和医疗机构制剂的产品信息
收藏
登录后参与评论
暂无评论