据《药融云医药行业观察周报》数据统计,在2023.06.12-2023.06.18期间,共有74项仿制药注册申请获CDE承办,其中新注册分类上市申请受理号59项(包括化药3类,4类,5.2类),新注册分类临床申请受理号1项(化药3类),一致性评价申请受理号14项。
其中,共12个品种通过一致性评价仿制药(按受理号计20项),43个品种视同通过一致性评价(按受理号计67项)。其中,过评品种主要为系统用抗感染药,过评受理号数量最多的品种为碘佛醇注射液和注射用头孢呋辛钠;视同通过的品种,主要为神经系统用药和血液和造血系统用药,占比约为40.3%,视同通过受理号数量最多的品种为注射用帕瑞昔布钠和艾司奥美拉唑肠溶胶囊。


图片来源:《药融云医药行业观察周报》
(想要了解通过/视同通过一致性评价品种的详细信息,全局掌握过评品种的治疗领域分布、剂型分布、数量排名、生产企业等,可关注公众号“药融云(yrydata)”,后台回复“报告”关键词领取完整报告内容,或者登录药融云数据库进行精准查询)
在2023.06.12-2023.06.18期间,有7个品种首次过评/视同过评,分别是恒瑞医药的碘佛醇注射液,海思科的复方氨基酸注射液(18AA-Ⅶ)、宣泰医药的西格列汀二甲双胍缓释片(Ⅱ)、昆明积大制药的双醋瑞因胶囊、扬子江药业的氨氯地平贝那普利胶囊、信立泰的恩那度司他片、科伦药业的ω-3 甘油三酯(2%)中长链脂肪乳/氨基酸(16)/葡萄糖(36%)注射液。
本周首次过评/视同过评品种信息速览

图片来源:《药融云医药行业观察周报》
1. 碘佛醇注射液——2022年造影剂TOP1品种
碘佛醇注射液是一种广泛应用于医学影像学的常用造影剂,能够提高医学诊疗过程中的效率和准确性。药融云一致性评价数据库显示,目前国内企业仅有恒瑞医药的碘佛醇注射液(涉及4个品规)获批生产并通过仿制药一致性评价。
碘佛醇注射液作为二代碘造影剂,是医院终端市场造影剂的TOP3大品种,近几年在医院端的市场规模持续增长,2022年以26.34亿元的销售额从第三登顶榜首,成为造影剂TOP1品种;其中,恒瑞医药一家独大,占据医院端93.02%的市场份额。(想要详细了解2022年造影剂TOP10品种,欢迎点击2022年造影剂TOP10品种,恒瑞医药拿下“销冠”,司太立跻身前十!进行查看)

目前,我国造影剂市场整体保持非常稳定的增长,其中碘造影剂占了整个造影剂市场80%以上的市场份额。近年来,越来越多国内企业注意到这一市场前景,开始加码入局,未来势必迎来激烈竞争。而碘佛醇注射液仅恒瑞医药一家拥有原料药批文,可以在竞争中通过掌控原料药,具有竞争优势。
2.复方氨基酸注射液(18AA-Ⅶ)——创伤应激营养治疗
复方氨基酸注射液(18AA-Ⅶ)是一种是由必需氨基酸和非必需氨基酸组成的复方制剂,其作用主要是促进患者体内氮平衡、促进蛋白质合成和肌肉组织修复,广泛应用于不能经胃肠道给予或经胃肠道给予不能满足其营养需求的患者,是手术、创伤、重症和感染患者的理想选择,在营养治疗中起重要作用。
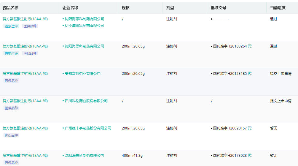
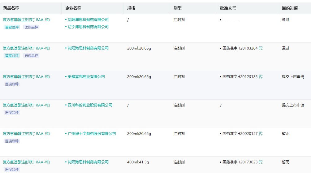
复方氨基酸注射液(18AA-Ⅶ)原研厂家为日本味之素制药株式会社,药融云中国药品批文数据库显示,目前国内有3家企业拥有其生产批文,分别是广州绿十字制药、海思科制药、安徽富邦药业。
药融云一致性评价数据库显示,目前仅海思科通过仿制药质量和疗效一致性评价,成为该品种的首家过评药企,除此之外,富邦药业与科伦药业已提交上市申请。
复方氨基酸注射液(18AA-Ⅶ)过评进度查询
图片来源:药融云一致性评价数据库药融云全国医院销售数据库显示,在医院终端市场2022年复方氨基酸注射液(18AA-Ⅶ)的销售规模为5.91亿元,同比下降9.14%%;其中海思科占据58.88%的市场份额,绿十字制药占比28.43%,富邦药业占比12.69%。同时,复方氨基酸注射液(18AA-Ⅶ)也是2022年海思科在医院终端市场销售规模排名第一的药品,其次是环泊酚注射液、甲磺酸多拉司琼注射液。
2022年海思科医院终端市场销售额TOP10药品
图片来源:药融云全国医院销售数据库3.西格列汀二甲双胍缓释片(Ⅱ)——用于成人2型糖尿病
宣泰医药的西格列汀二甲双胍缓释片(Ⅱ)获得药品注册证书,按化药3类申报,视同通过一致性评价,是该品种的首家过评。西格列汀属于强效、高选择性的二肽基肽酶-4(DPP-4)抑制剂,二甲双胍为双胍类口服降血糖药物,西格列汀二甲双胍缓释片(Ⅱ)是两种作用机制互补的降血糖药物复方,适用于正在接受西格列汀和二甲双胍缓释片联合治疗的成人2型糖尿病患者。
西格列汀+二甲双胍发原研企业为默沙东公司,于2007年4月在美国获批上市;后于2012年7月在国内获批上市。目前,默沙东暂未在国内上市西格列汀二甲双胍缓释片,已获批并上市销售的产品有:磷酸西格列汀片、西格列汀二甲双胍片(Ⅰ)、西格列汀二甲双胍片(Ⅱ)。
西格列汀+二甲双胍全球研发详情查询(部分)
图片来源:药融云全球药物研发数据库4.恩那度司他片——用于治疗肾性贫血
信立泰的恩那度司他片(商品名:恩那罗)获批上市,用于非透析的成人慢性肾脏病(CKD)患者的贫血治疗,这是国内上市的第2款HIF-PHI类药物,弥补了第一代产品罗沙司他的缺点和不足,罗沙司他是首个在国内获批上市的同类药。
恩那度司他片是一款口服活性低氧诱导因子-脯氨酰羟化酶抑制剂(HIF-PHI),是一类全新机制的肾性贫血的治疗药物,HIF-PHI能促进内源性促红细胞生成素(EPO)的产生,同时改善患者的铁转运和铁利用,现已成为肾性贫血临床治疗的新选择。
自从2018年首个HIF-PHI罗沙司他由中国率先完成临床试验并批准其上市至今,全球已有7款用于慢性肾病贫血的HIF-PHI类药物上市。然而,关于HIF-PHI药物的机制和疗效间的关系,在药理学领域和临床均存在一些争议。
恩那度司他片审评时间轴—过评耗时524天
图片来源:药融云中国药品审评数据库我国是CKD高发国家,患者人数超过1.2亿,肾性贫血是CKD的重要并发症之一,与CKD进展和死亡风险增加密切相关。期待通过更多的临床和基础研究的开展,让研究成果尽快转化为临床实践,最终造福患者。
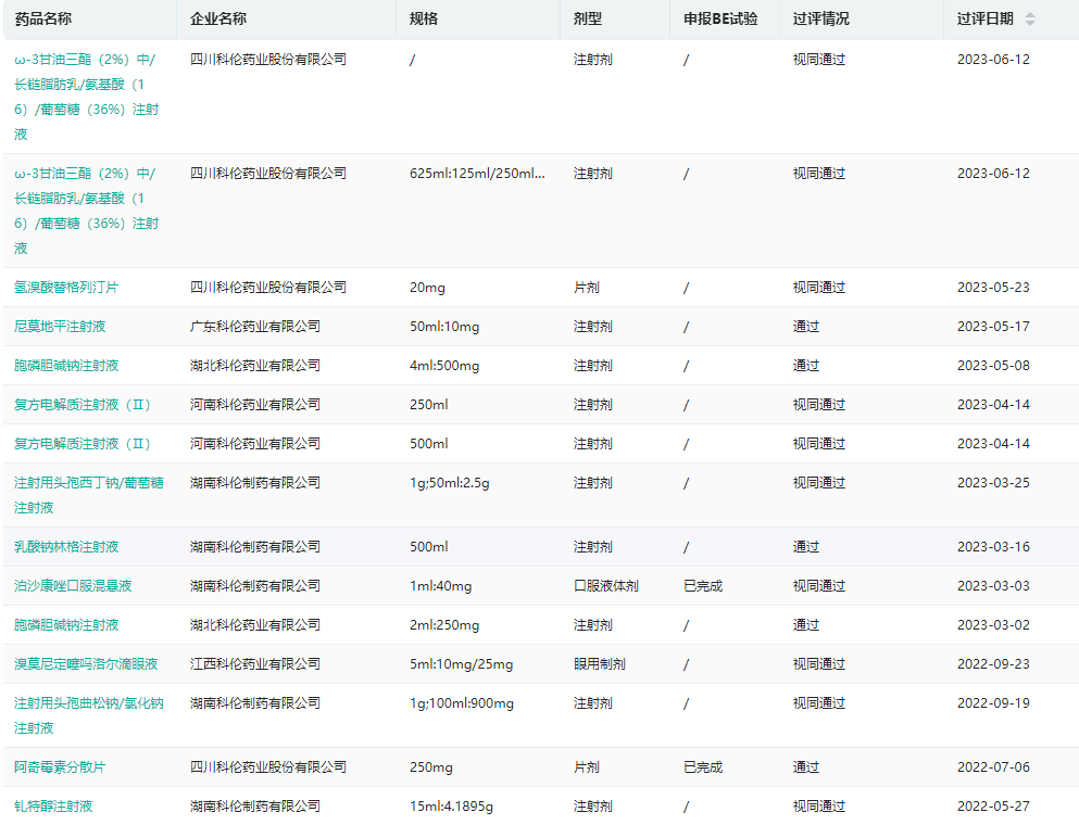
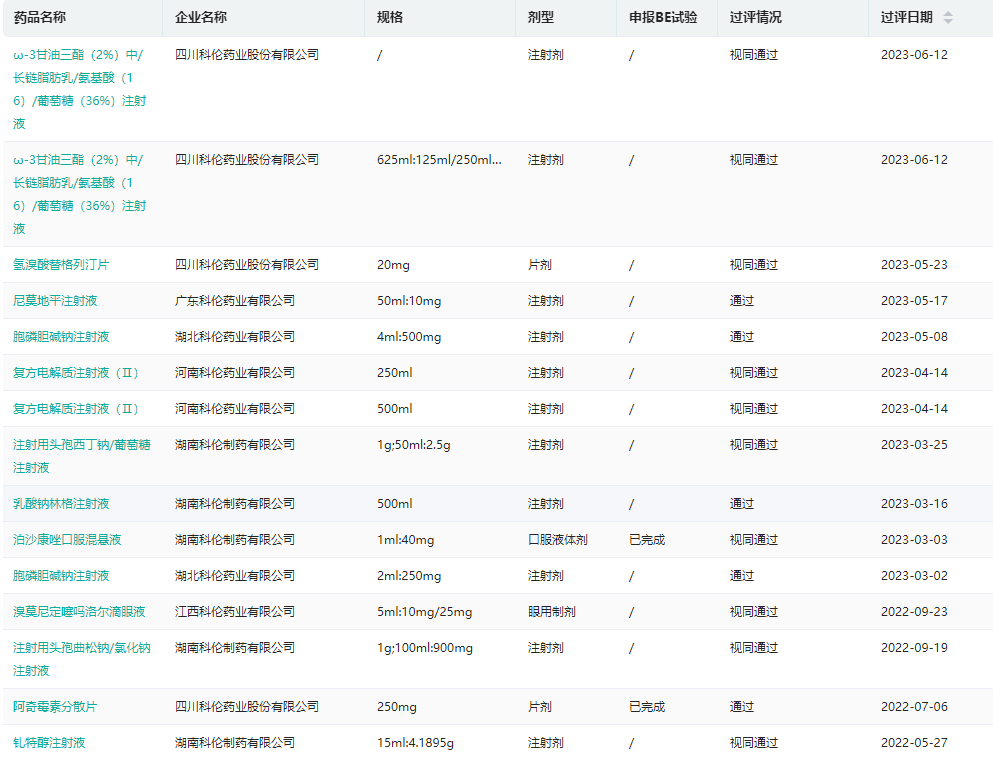
5.大输液龙头科伦药业肠外营养产品+1,首仿又+1
科伦药业的ω-3 甘油三酯(2%)中长链脂肪乳/氨基酸(16)/葡萄糖(36%)注射液获批上市,拿下国内首仿,截至目前,科伦药业已拿下62个品种的首家过评。ω-3 甘油三酯(2%)中长链脂肪乳/氨基酸(16)/葡萄糖(36%)注射液为肠外营养三腔袋,主要用于不能经口/肠道摄取营养的中重度分解代谢成人患者的营养补充。
科伦药业首家过评品种查询(部分展示)
图片来源:药融云过评药品汇总数据库科伦药业作为作为大输液龙头企业,拥有众多已上市的注射剂产品,肠外营养产品是其在输液领域的重点品种。目前,科伦药业已有7个三腔袋肠外营养产品获批,并有多个品种在研。ω-3甘油三酯(2%)中/长链脂肪乳/氨基酸(16)/葡萄糖(36%)注射液是国内首个获批的含鱼油三腔袋,也是科伦药业在肠外营养领域获批的第15个新产品,第7个肠外营养三腔袋。
想要解锁更多药品信息吗?查询药融云数据库(vip.pharnexcloud.com/?zmt-mhwz)掌握药品各国上市情况、药品批文信息、销售情况与各维度分析、市场竞争格局、通过一致性评价情况、集采中标情况、药企申报审批信息、最新动态与前景等,以及帮助企业抉择可否投入时提供数据参考!注册立享15天免费试用!

<END>








浙公网安备33011002015279
本网站未发布麻醉药品、精神药品、医疗用毒性药品、放射性药品、戒毒药品和医疗机构制剂的产品信息
收藏
登录后参与评论
暂无评论