
11月18日,科伦药业发布了两份公告,其公司提交的2款1类新药注射用SKB571和注射用MK-6204(SKB535)获批临床,适应症均为晚期实体瘤。

截图来源:企业公告
SKB571是一款新型双抗ADC,主要针对肺癌、消化道肿瘤等多种实体瘤。而注射用MK-6204(SKB535)是一款由科伦博泰针对靶点生物学特点,利用 OptiDCTM平台技术研发的具有自主知识产权的新型ADC药物,在临床前研究中显示出良好的疗效和安全窗,拟用于治疗晚期实体瘤。据摩熵医药数据库显示,2023年抗肿瘤药和免疫机能调节药物在全国院内市场的销售额超1400亿元。

截图来源:摩熵医药(原药融云)全国医院销售数据库
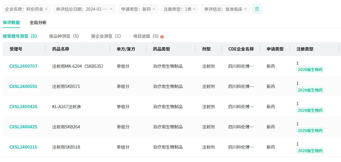
2024年Q3,科伦博泰获默沙东告知,就SKB571行使独家选择权,并收到3750万美元预付款。截至目前,科伦药业(含子公司)有注射用SKB535、注射用SKB571、KL-A167注射液、注射用SKB264等超20款1类新药获批临床。

截图来源:摩熵医药(原药融云)中国药品审评数据库









川公网安备51019002008863号
本网站未发布麻醉药品、精神药品、医疗用毒性药品、放射性药品、戒毒药品和医疗机构制剂的产品信息
收藏
登录后参与评论
暂无评论