随着国内创新药势头的大好,各大药企在创新药方面的成果也开始不断显现,一批具有明显临床价值、满足临床急需的新药好药正在加速临床乃至上市,为更多患者带来福音。
据药融云数据库,近一周内,“创新药一哥”——恒瑞医药便已有5款1类新药获批临床(默示许可),除SHR7280干混悬剂为化药外,其余4款均为生物制品。至此,恒瑞医药今年已有20个1类新药获批临床(默示许可)(不包括补充申请),包括13款生物制品和7款化药,近半药物为抗肿瘤药物。
一、HRYZ-T101注射液
本次HRYZ-T101注射液作为1类新药获批临床,用于人乳头瘤病毒18亚型阳性(HPV18+)的实体瘤。这是首个中国人群高频HLA的TCR-T产品,拥有中美专利授权及广泛的PCT覆盖,具有全新的TCR序列,是针对实体瘤创新靶点的First-in-class TCR-T细胞治疗产品。此次TCR-T产品获批IND,是恒瑞源正自主研发征程中的重要里程碑。

图片来源:企业官网
2015年7月,恒瑞医药与源正细胞合资成立恒瑞源正,主要开发免疫治疗产品,其中就包括针对实体瘤的TCR-T细胞疗法。恒瑞源正自主开发了基于反向基因工程的TCR筛选技术平台(Reverse Genetic Engineering of TCR-T,ReGET),可以从免疫治疗获益的肿瘤患者体内快速高效地分离最优亲和力的TCR,用于抗肿瘤TCR-T产品研发。HRYZ-T101注射液便是恒瑞源正第一个TCR-T产品。
二、SHR7280干混悬剂
本次SHR7280干混悬剂获批临床,是SHR7280的干混悬剂首次以1类新药获批临床,用于辅助生殖技术中,用于控制性超促排卵治疗的患者,抑制早发LH峰,防止提前排卵。
SHR7280是恒瑞医药研发的具有自主知识产权的新型口服小分子GnRH受体拮抗剂,可以阻断内源性GnRH与GnRH受体的结合,抑制黄体生成素(LH)和卵泡刺激素(FSH)等促性腺激素的合成和释放,降低睾酮和雌二醇等性激素水平。
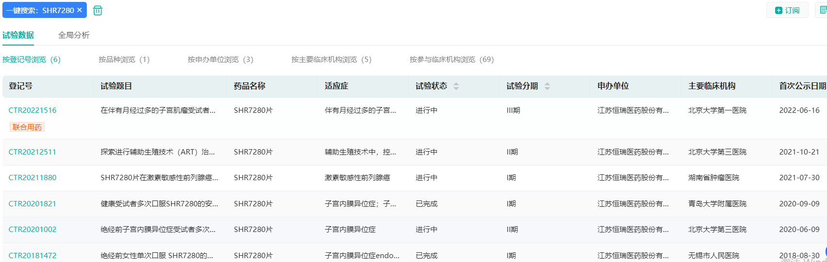
SHR7280另有片剂在研,此前已多次递交1类新药获批临床,产品在研,其口服给药方式可减少患者经注射用药带来的痛苦。目前,SHR7280片有多项适应症获批临床(默示许可),包括子宫肌瘤、前列腺癌、雌激素依赖性疾病等,其治疗子宫肌瘤的1项III期临床研究、女性子宫内膜异位症和应用于辅助生殖技术的2项II期临床研究、治疗男性前列腺癌的1项I期临床正在进行中。
SHR7280片国内临床试验开展情况

截图来源:药融云中国药品审评数据库
三、SHR-1905注射液
本次SHR-1905注射液1类新药获批临床,用于慢性鼻窦炎伴鼻息肉。此前该产品还获批开展针对哮喘的临床试验,目前已进行至临床II期阶段。
SHR-1905适应症研发现状

截图来源:药融云全球药物研发数据库
SHR-1905注射液恒瑞医药布局哮喘领域的第三款单抗,靶向胸腺基质淋巴细胞生成素(TSLP),可以阻断炎症细胞因子的释放,抑制下游炎症信号的传导,最终改善炎症状态并控制疾病进展,用于炎症性疾病的治疗。
此外,恒瑞医药还有SHR-1819注射液获批开展针对慢性鼻窦炎伴鼻息肉的临床试验。
四、注射用SHR-2001和SHR-1654注射液
本次注射用SHR-2001和SHR-1654注射液获批临床,分别用于系统性红斑狼疮和治疗类风湿关节炎。这两个产品均是首次作为1类新药获批临床(默示许可)。
至此,恒瑞医药今年已有20个1类新药获批临床(默示许可)(不包括补充申请),包括13款生物制品和7款化药,近半药物为抗肿瘤药物。详情如下。

数据来源:药融云中国药品审评数据库
想要解锁更多药物研发信息吗?查询药融云数据库(vip.pharnexcloud.com/?zmt-mhwz)掌握药物基本信息、市场竞争格局、销售情况与各维度分析、药企研发进展、临床试验情况、申报审批情况、各国上市情况、最新市场动态、市场规模与前景等,以及帮助企业抉择可否投入时提供数据参考!注册立享15天免费试用!

<END>








川公网安备51019002008863号
本网站未发布麻醉药品、精神药品、医疗用毒性药品、放射性药品、戒毒药品和医疗机构制剂的产品信息
收藏
登录后参与评论
暂无评论