近日,百济神州抗PD-1抗体替雷利珠单抗(Tislelizumab,商品名:百泽安)的新适应症上市申请已正式获批。此次获批的适应症是联合化疗用于一线治疗不可切除的局部晚期、复发或转移性食管鳞状细胞癌(ESCC)。
药融云全球药物研发数据库显示,2019年12月替雷利珠单抗正式被NMPA批准上市,获批适应症是复发/难治性经典型霍奇金淋巴瘤(r/r cHL)。而截至目前,这已经是替雷利珠单抗在中国获批的第11项适应症,同时,食管鳞癌也是该药获批上市的第5个一线适应症。
查询替雷利珠单抗既往获批的10个适应症

图片来源:药融云全球药物研发数据库
替雷利珠单抗是获批适应症最多的国产PD-1单抗,此前已在国内获批的适应症涵盖非小细胞肺癌(NSCLC)、经典型霍奇金淋巴瘤、鼻咽恶性肿瘤、尿路上皮癌、肝细胞癌、食管鳞状细胞癌、鼻咽癌、膀胱转移性恶性肿瘤等。
此外,药融云中国药品审评数据库显示,替雷利珠单抗还有一项一线肝细胞癌适应症处于在审评审批状态(受理号CXSS2200095),年内有望获批上市。百济神州同时还在美国、欧盟、澳大利亚、新西兰、韩国、泰国、日本等国家递交了替雷利珠单抗的上市申请,申报适应症包括食管鳞癌(ESCC)、非小细胞肺癌(NSCLC)等多个重要领域。,或将在今年斩获新的海外商业化里程碑。
订阅替雷利珠单抗(受理号CXSS2200095)可获取一手动态

图片来源:药融云中国药品审评数据库
替雷利珠单抗是百济神州自主研发的一款人源化IgG4抗程序性死亡受体-1(PD-1)单克隆抗体。替雷利珠单抗Fc段经过基因工程改造,能够最大限度地减少与巨噬细胞中的Fc受体结合,最大程度上保留效应性T细胞数量及功能因此抗肿瘤活性更强。
同时,替雷利珠单抗的抗体结合片段(Fab段)能特异性结合PD-1,与帕博利珠单抗和纳武利尤单抗相比,其亲和力更高。基于独特的作用机制,替雷利珠单抗显示出其独特的优势。
作为目前全球唯一成功对Fc段进行特殊基因工程改造的PD-1单抗,能够大限度地保留效应性T细胞数量和功能,提升潜在疗效,抗肿瘤活性更高,同时也能减少巨噬细胞引起的不良反应。替雷利珠单抗多次登上国际舞台,让世界“听”到了国人的“声音”,也为更多患者带来临床获益。
药融云数据库显示,截至目前,替雷利珠单抗注射液已有9项适应症纳入医保,成为最多适应症纳入国家报销药品目录的PD-1/L1单抗,为更多患者带来更高性价比的免疫治疗方案。
替雷利珠单抗-医保药品分类和代码查询

图片来源:药融云医保药品分类和代码数据库
替雷利珠单抗最新医保报销目录
(具体医保报销需结合说明书适应症,且以当地政策为准)
1.肺癌
(1)不可手术切除的局部晚期或转移性鳞状非小细胞肺癌的一线治疗;
(2)表皮生长因子受体(EGFR)基因突变阴性和间变性淋巴瘤激酶(ALK)阴性、不可手术切除的局部晚期或转移性非鳞状非小细胞肺癌的一线治疗;
(3)表皮生长因子受体(EGFR)基因突变阴性和间变性淋巴瘤激酶(ALK)阴性、既往接受过含铂方案化疗后疾病进展或不可耐受的局部晚期或转移性非鳞状非小细胞肺癌(NSCLC)成人患者,以及EGFR和ALK阴性或未知的,既往接受过含铂方案化疗后疾病进展或不可耐受的局部晚期或转移性鳞状NSCLC成人患者。
2.肝癌
至少经过一种全身治疗的肝细胞癌的治疗。
3.尿路上皮癌
PD-L1高表达的含铂化疗失败包括新辅助或辅助化疗12个月内进展的局部晚期或转移性尿路上皮癌的治疗。
4.食管癌
既往接受过一线标准化疗后进展或不可耐受的局部晚期或转移性食管鳞状细胞癌的治疗。
5.MSI-H/dMMR实体瘤
不可切除或转移性微卫星高度不稳定型(MSI-H)或错配修复基因缺陷型(dMMR)的成人晚期实体瘤患者。
6.鼻咽癌
复发或转移性鼻咽癌的一线治疗。
7.淋巴瘤
至少经过二线系统化疗的复发或难治性经典型霍奇金淋巴瘤的治疗。
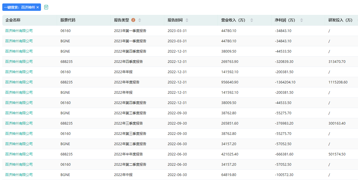
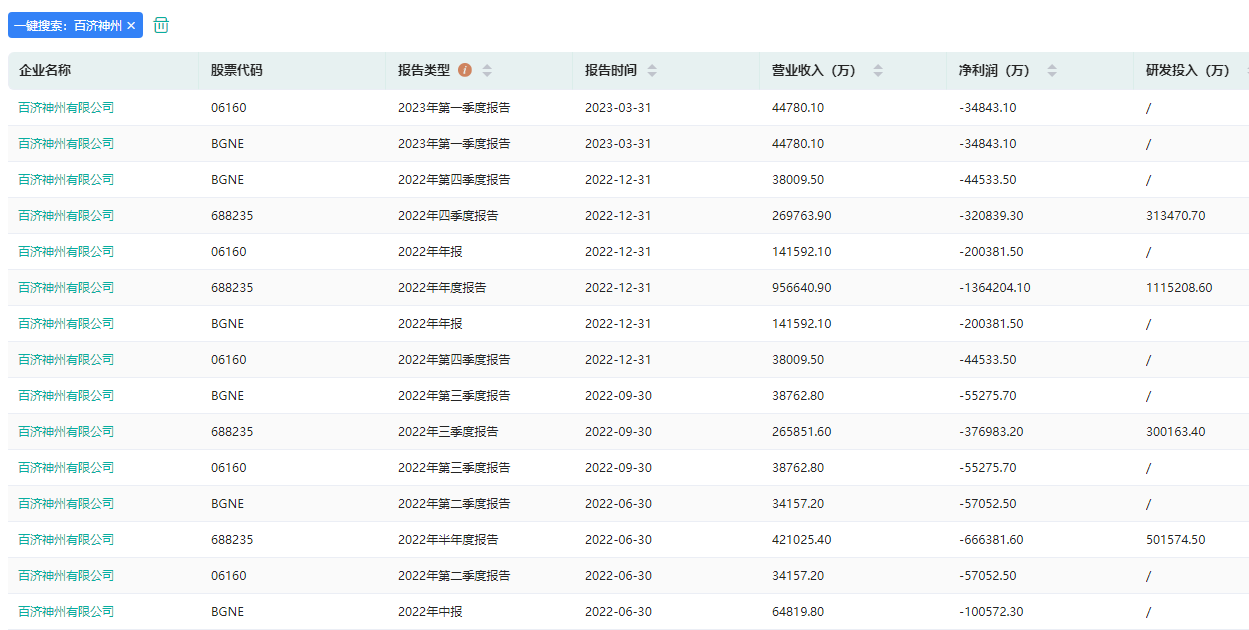
药融云数据库显示,百济神州PD-1产品百泽安(替雷利珠单抗)2023年第一季度在国内市场实现7.86亿元销售额,同比增幅达31%,表现稳健。在内卷加剧的PD-1市场竞争中,替雷利珠单抗凭借产品自身差异化的竞争力和广泛的适应症布局,在商业化放量、适应症获批数量上均领先同类产品。
百济神州季度报告/年报信息查询

图片来源:药融云上市医药企业年报数据库
除了替雷利珠单抗,BTK抑制剂泽布替尼是百济神州的另一款核心产品,已在美国、中国、欧盟、英国、加拿大、澳大利亚、韩国、瑞士等超过65个国家和地区获批多项适应症。
泽布替尼(商品名:百悦泽)Q1季度的全球销售额为14.47亿元,去年同期为6.63亿元,同比增长超过一倍。目前,泽布替尼在美国市场的收入已占其全球销售额近七成,来自海外主流市场的收入贡献显著。在国内,泽布替尼亦增长稳健,销售额达3.29亿元,上年同期为2.13亿元。
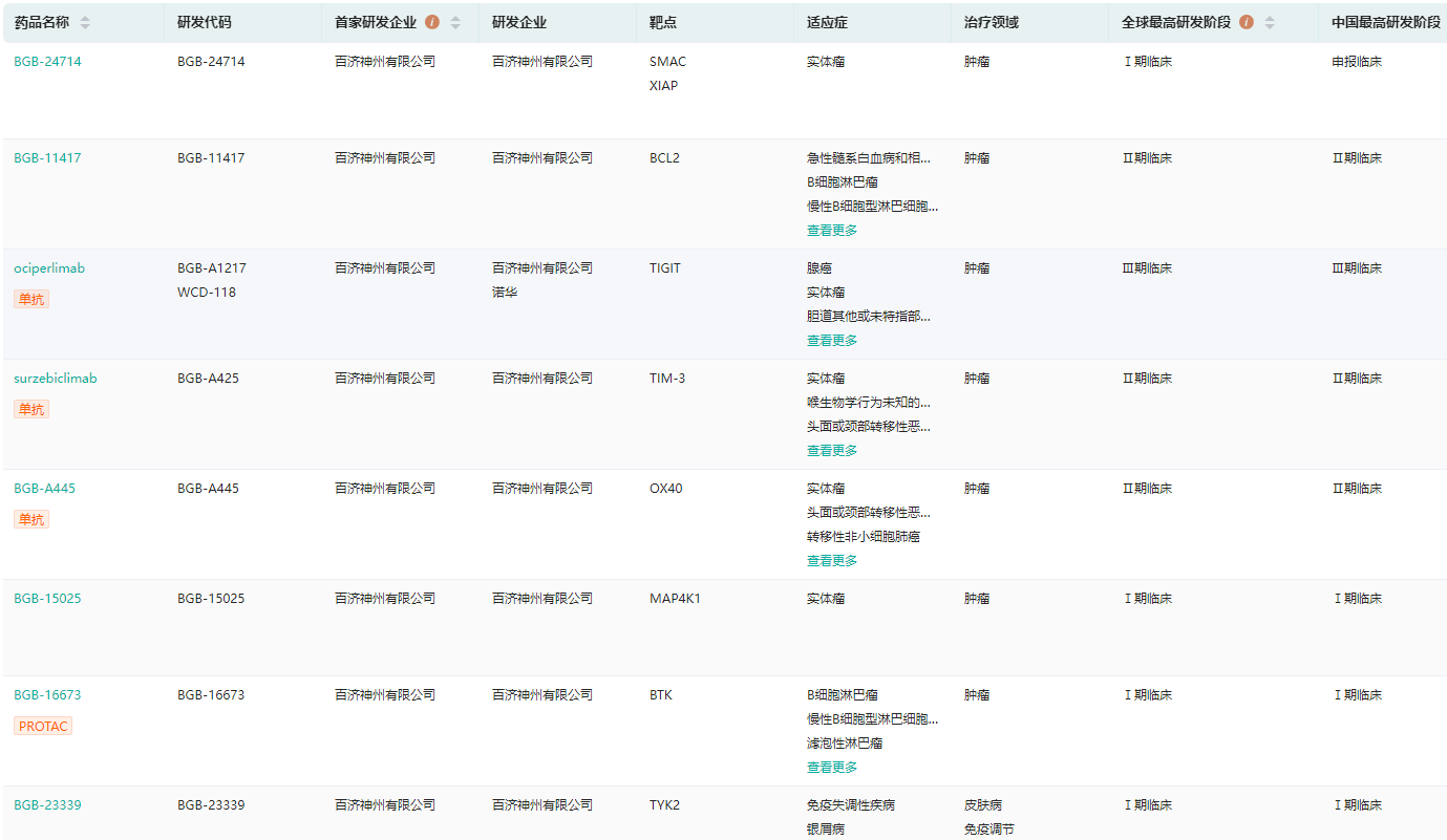
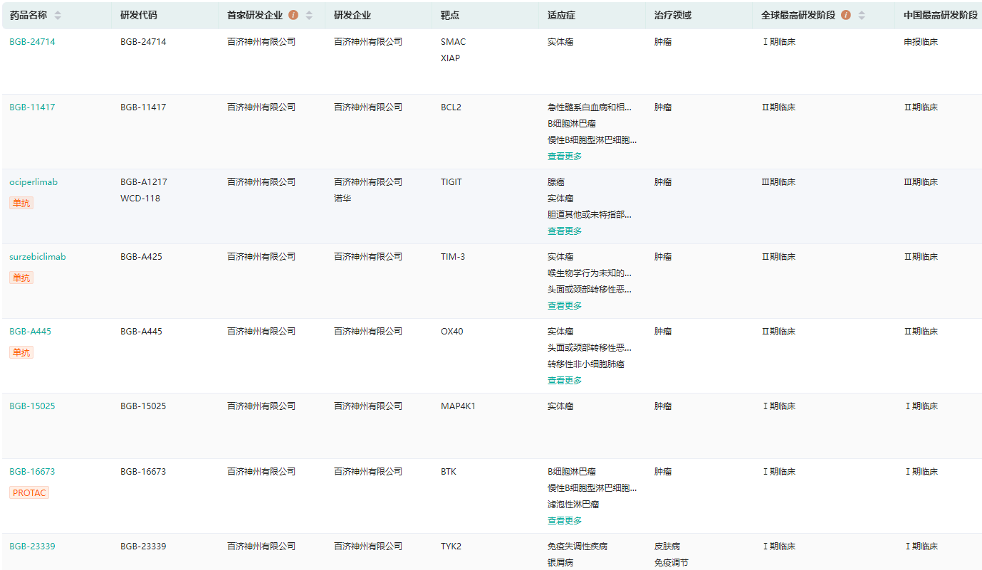
药融云全球药物研发数据库显示,目前百济神州有多款自主研发的临床药物正在持续推进中,包括已经在临床III期阶段的抗TIGIT抗体Ociperlimab(BGB-A1217,欧司珀利单抗),处于临床II期阶段的BCL-2抑制剂BGB-11417、TIM3单抗BGB-A425、OX40激动性单抗BGB-A445,以及处在临床早期阶段的抗OX40抗体、潜在“同类首创”HPK1抑制剂和CEA×4-1BB双特异性抗体等。
百济神州在研管线查询(部分,完整内容请登录“药融云数据库www.pharnexcloud.com/?mh”查看)

图片来源:药融云全球药物研发数据库
而在引进的新药中,百济神州于2019年11月与安进达成合作,联合开发安进20款在研抗肿瘤药,多款具有同类最优或同类首创的潜力,其中AMG-103、AMG-162已在国内获批上市,AMG-160,AMG-701,AMG-650,AMG-510等处于临床前阶段。
想要解锁更多药企信息吗?查询药融云数据库(vip.pharnexcloud.com/?zmt-mhwz)掌握药企公司基本信息、投融资情况、产品管线分布、药物销售情况与各维度分析、药物研发情况、年度报告、最新进展动态、临床试验信息、市场规模与前景等,以及帮助企业抉择可否投入时提供数据参考!注册立享15天免费试用!

<END>








川公网安备51019002008863号
本网站未发布麻醉药品、精神药品、医疗用毒性药品、放射性药品、戒毒药品和医疗机构制剂的产品信息
收藏
登录后参与评论
暂无评论