
恒瑞医药近日捷报频传,先是注射用SHR-A1811用于治疗人表皮生长因子受体2(HER2)阳性晚期结直肠癌被国家药品监督管理局药品审评中心拟纳入突破性治疗品种;9月7日,引进的1类新药林普利塞(因他瑞®)第2项适应症上市申请获国家药品监督管理局受理,用于治疗复发和/或难治性外周T细胞淋巴瘤(R/R PTCL)患者。
据CDE官网最新公示,其羟乙磺酸达尔西利片最新获批临床(默示许可),联合醋酸阿比特龙片(I)和泼尼松片(AA-P)用于治疗高瘤负荷的转移性激素敏感性前列腺癌。此前,该品种已有2项适应症获批上市,市场表现良好。
9月1日,达尔西利的3项2.4类临床申请才刚获CDE受理,在审评审批中。

截图来源:CDE官网
达尔西利,勇闯CDK4/6明星赛道
据药融云数据库,目前全球共有5款CDK4/6抑制剂上市,除恒瑞的达尔西利外,另有辉瑞的哌柏西利(已纳入医保)、礼来的阿贝西利(已纳入医保)、诺华的瑞波西利和先声药业/G1 Therapeutics的曲拉西利。
总体来看,CDK4/6抑制剂赛道主要被哌柏西利、瑞博西利、阿贝西利所瓜分,三款药物2022年市场规模合计88.35亿美元,几乎占据这一市场全部的市场份额。这也证明了CDK4/6赛道的价值。
在国内,上述5款药物均已上市。2022年,CDK4/6抑制剂院内销售额大涨380,达到4.4亿元,其中以礼来的阿贝西利市场份额最高(87%);2023年Q1继续保持高增长,院内销售额达到1.8亿元。
CDK4/6抑制剂院内销售情况

截图来源:药融云全国医院销售数据库
恒瑞的羟乙磺酸达尔西利片是中国首个自主研发的新型高选择性CDK4/6抑制剂,能够选择性地抑制CDK4/6激酶活性,进而阻断CDK4/6-Rb信号通路、诱导细胞阻滞在G1期并选择性地抑制Rb高表达肿瘤细胞的增殖。该药最早于2021年12月获国家药监局批准上市(商品名:艾瑞康®),获批适应症为联合氟维司群用于激素受体(HR)阳性,人表皮生长因子受体2(HER2)阴性的经内分泌治疗后进展的复发或转移性乳腺癌的治疗。
首次上市仅13个月后,达尔西利进入国家医保目录。今年6月,达尔西利第2项适应症获批,为联合芳香化酶抑制剂作为初始治疗,适用于激素受体(HR)阳性,人表皮生长因子受体2(HER2)阴性局部晚期或转移性乳腺癌患者。研究结果表明,对于HR阳性、HER2阴性局部晚期或转移性乳腺癌患者,达尔西利联合芳香化酶抑制剂作为初始治疗,可显著延长无进展生存期(PFS),中位PFS达到30.6个月。
据药融云数据库,除乳腺癌重点布局外,达尔西利还布局有软组织肉瘤、结直肠癌、卵巢癌、肾癌、黑色素瘤等适应症。

截图来源:药融云全球药物研发数据库
恒瑞的前列腺癌药物布局一览
前列腺癌是全球男性第二常见的癌症,也是全球男性肿瘤死亡的第五大病因,而且我国近50%的前列腺癌患者初诊即为晚期。据《Nature Reviews Drug Discovery》一篇文章分析,2020年前列腺癌市场112亿美元,到2029年这一数字将增至301亿美元。
面对如此之大的市场,恒瑞布局良多。据药融云数据库,恒瑞医药已有11款药物处于获批临床(默示许可)及以上阶段。
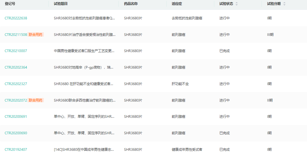
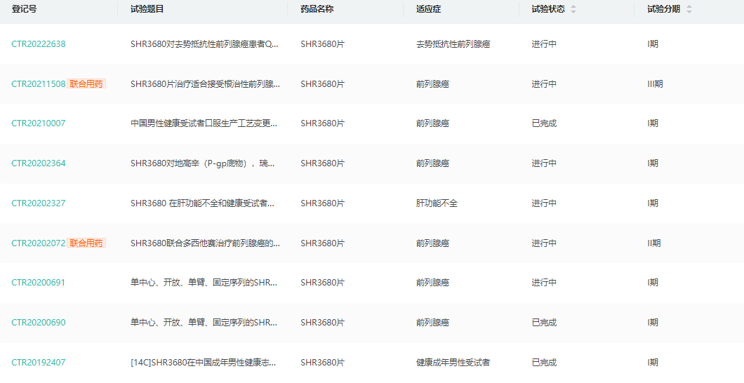
其中,1类创新药瑞维鲁胺片(SHR3680,商品名:艾瑞恩)于2022年6月获批上市,用于治疗高瘤负荷的转移性激素敏感性前列腺癌(mHSPC)患者。据悉,瑞维鲁胺是一种雄激素受体(AR)抑制剂,可竞争性抑制雄激素与AR结合,从而抑制AR核移位及DNA结合,降低AR介导的基因转录。目前,瑞维鲁胺还有多项针对前列腺癌的临床试验正在进行中。
瑞维鲁胺国内临床试验

截图来源:药融云中国临床试验数据库
此外,已上市药物氟唑帕利(PARP抑制剂)、阿帕替尼(VEGFR-2酪氨酸激酶抑制剂)、醋酸阿比特龙片和此次的达尔西利也有前列腺癌相关适应症获批临床,前3款药物分别最高进行至临床III期、II期、III期阶段。

数据来源:药融云数据库
<END>
要解锁更多企业药品研发信息吗?查询药融云数据库(vip.pharnexcloud.com/?zmt-mhwz)掌握药品各国上市情况、药品批文信息、销售情况与各维度分析、市场竞争格局、一致性评价情况、集采中标情况、药企申报审批信息、最新动态与前景等,以及帮助企业抉择可否投入时提供数据参考!注册立享15天免费试用!








川公网安备51019002008863号
本网站未发布麻醉药品、精神药品、医疗用毒性药品、放射性药品、戒毒药品和医疗机构制剂的产品信息
收藏
登录后参与评论
暂无评论