
达尔西利,作为中国首个自主研发的新型高选择性CDK4/6抑制剂,自问世以来便以其独特的疗效和安全性,在乳腺癌治疗领域引发了广泛关注。达尔西利的上市,有力推动CDK4/6抑制剂的应用可及性,不仅为中国乳腺癌患者带来了福音,也标志着中国在创新药物研发领域取得了重要突破。
达尔西利(商品名:艾瑞康®️),又被称为Dalpiciclib、羟乙磺酸达尔西利片、SHR6390等,是由恒瑞医药研发的1类创新药,于2021年12月获中国国家药品监督管理局(NMPA)批准上市,与氟维司群联合用于治疗经内分泌治疗后疾病进展的激素受体阳性(HR+)或人表皮生长因子受体2阴性(HER2-)的复发或转移性乳腺癌患者。
2023年6月,达尔西利又获批了第二个适应症,联合芳香化酶抑制剂作为初始治疗,适用于激素受体(HR)阳性,人表皮生长因子受体2(HER2)阴性局部晚期或转移性乳腺癌患者。药融云数据库显示,目前该产品上市所有适应症已被纳入新版国家医保目录,进一步减轻了患者的经济负担。
首个国产CDK4/6抑制剂——达尔西利,“十年磨一剑”
2013年,CDK4/6抑制剂达尔西利(SHR6390)正式立项。旨在结合中国人群特点,以临床需求为导向,专研CDK4/6抑制剂的药物结构优化。通过创新性引入哌啶基团,成功消除了谷胱甘肽捕获效应,从而降低了潜在患者的肝脏安全性风险。
经过长达8年的研发努力,达尔西利于2021年在国内获批上市,为中国晚期乳腺癌患者带来了更多治疗希望。这一成果不仅展现了达尔西利“十年磨一剑”的研发历程,更是中国创新药探索与发展的生动缩影。
达尔西利全球专利查询

图片来源:药融云全球医药专利数据库
既往同类CDK4/6抑制剂中普遍存在的对苯二胺结构在肝脏中容易被细胞色素CYP450氧化,进而与谷胱甘肽发生不可逆的加成反应,导致潜在的肝毒性风险。
然而,达尔西利在设计之初便致力于降低肝毒性,通过引入哌啶基团,成功消除了谷胱甘肽捕获风险,成为其设计的一大亮点。在临床研究中,达尔西利展现出优异的肝脏安全性,3~4级AST和ALT升高的发生率极低。
此外,达尔西利还具备高体外活性和高CDK家族选择性,能够强效抑制靶点CDK4/6,同时对CDK1、2、9的选择性极高。值得一提的是,达尔西利对CDK9几乎无抑制作用,因此其预期胃肠道毒副反应较弱,这一特点在临床研究中得到了验证。
除此之外,达尔西利还展现出了良好的广谱激酶选择性,其hERG抑制较弱,心脏毒性较小,QTC延长现象少见。在与其他药物联合使用时,达尔西利对3A4M、3A4T底物的抑制作用较弱,意味着其药物相互作用风险较低。这些特性使得达尔西利在乳腺癌治疗中具备独特的优势,有望为更多患者带来福音。
此后,达尔西利的研究也并未止步。2023年9月,羟乙磺酸达尔西利片联合醋酸阿比特龙片(I)和泼尼松片(AA-P)用于治疗高瘤负荷的转移性激素敏感性前列腺癌的临床申请获得批准。目前,该适应症已经处于III期临床阶段。
达尔西利在研适应症及其进度

图片来源:药融云全球药物研发数据库
据药融云数据库显示,除乳腺癌、前列腺癌布局外,达尔西利还布局有软组织肉瘤、胃癌、结直肠癌、卵巢癌、肾癌、腺癌、黑色素瘤等适应症。这些研究将进一步拓展达尔西利的适应症范围,为更多类型的肿瘤患者带来希望。
原研到期,CDK4/6赛道创新药与仿制药混战一触即发
CDK4/6是对细胞周期蛋白依赖性激酶4和6的统称。CDK4/6抑制剂是针对肿瘤细胞中CDK4和CDK6这两种周期蛋白依赖性激酶的高效抑制剂。它通过阻止肿瘤细胞分裂的过程,从而发挥抑制肿瘤的作用。CDK4/6抑制剂的机制是选择性抑制肿瘤细胞中的CDK4/6,阻碍其在细胞周期中所处的阶段,使细胞无法顺利进入下一阶段,从而抑制细胞自我增殖。
CDK4/6抑制剂在HR+/HER2-乳腺癌中的关键作用机制

2015年,全球首款CDK4/6抑制剂问世,即辉瑞的哌柏西利(palbociclib)。2018年9月,哌柏西利在中国获批上市。目前,国内共有5款CDK4/6抑制剂上市,除恒瑞的达尔西利、辉瑞的哌柏西利(已纳入医保)外,还有礼来的阿贝西利(已纳入医保)、诺华的瑞波西利(已纳入医保)、先声药业/G1Therapeutics的曲拉西利(注射用盐酸曲拉西利,Trilaciclib,用于小细胞肺癌患者预防化疗造成的骨髓抑制)。
目前,国内很多药企也在积极布局CDK4/6抑制剂。其中,嘉和生物/G1Therapeutics的来罗西利(盐酸来罗西利片,GB491,Lerociclib)、四环医药/轩竹生物的吡罗西尼片(XZP-3287)、复星医药的FCN-437(FCN-437c)已处于申请上市阶段。同时,还有超20款药品处于临床阶段,涉及正大天晴、同源康医药、上海医药、倍而达药业、基石药业、贝达药业、广州必贝特、豪森药业等企业。
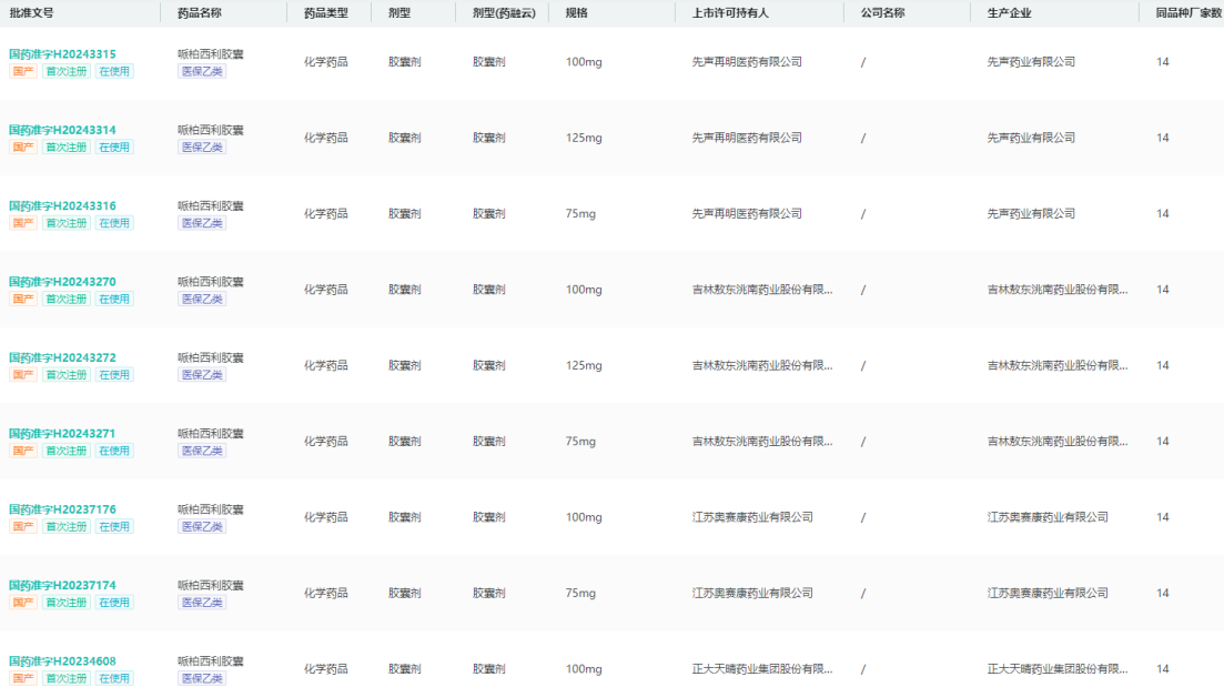
在仿制药方面,哌柏西利专利已于2023年1月10日到期,2020年齐鲁制药已拿下哌柏西利的首仿,2022年豪森药业、青峰医药的哌柏西利胶囊先后获批上市。
药融云数据库显示,截止目前已有33个哌柏西利胶囊的仿制药批文获批,涉及科伦、正大天晴、奥赛康、艾施特制药等13家企业。庞大乳腺癌市场,仿制药与原研混战局面一触即发。
哌柏西利胶囊生产批文查询

图片来源:药融云中国药品批文数据库
乳腺癌领域群雄逐鹿,CDK4/6抑制剂赛道三分天下
乳腺癌常被称为“粉红杀手”,其发病率位居女性恶性肿瘤的首位,且患病人数持续增长。据IARC数据显示,2020年全球乳腺癌新增人数达226万,占所有肿瘤患者的11.7%,其威胁之广,已成为全球健康领域的一大难题。
全球乳腺癌药物市场规模2022年已达315亿美元,据弗若斯特沙利文预测,到2030年将达到699亿美元。目前,CDK4/6抑制剂赛道主要被哌柏西利、瑞波西利、阿贝西利三款药物瓜分,2023年的市场规模合计已突破100亿美元,几乎占据该市场全部市场份额。
据悉,2021年中国CDK4/6抑制剂在HR+/HER2-乳腺癌中的市场规模为12亿元,预计2030年CDK4/6抑制剂用于HR+/HER2-乳腺癌市场规模将超200亿元。
在国内医院终端市场,据药融云数据库统计,2022年全国医院终端市场CDK4/6抑制剂的销售额大涨,已突破4亿元;其中礼来的阿贝西利片占据的市场份额最高,2022年院内销售额达到3.87亿元,同比上涨8677.54%。2023年,阿贝西利片继续保持着高增长,2023年前三季度院内销售额已超5亿元。
阿贝西利片医院端市场销售趋势

图片来源:药融云全国医院销售数据库
结语:
达尔西利作为中国原研的创新药物,在乳腺癌治疗领域取得了重要突破。它的成功研发不仅为中国患者带来了新的治疗选择,也为中国新药研发领域树立了新的标杆。我们期待未来能够有更多像达尔西利这样的创新药物问世,为人类的健康事业贡献更多中国力量。
<END>
要解锁更多企业药品研发信息吗?查询药融云数据库(vip.pharnexcloud.com/?zmt-mhwz)掌握药品各国上市情况、药品批文信息、销售情况与各维度分析、市场竞争格局、一致性评价情况、集采中标情况、药企申报审批信息、最新动态与前景等,以及帮助企业抉择可否投入时提供数据参考!注册立享15天免费试用!








川公网安备51019002008863号
本网站未发布麻醉药品、精神药品、医疗用毒性药品、放射性药品、戒毒药品和医疗机构制剂的产品信息
收藏
登录后参与评论
暂无评论