
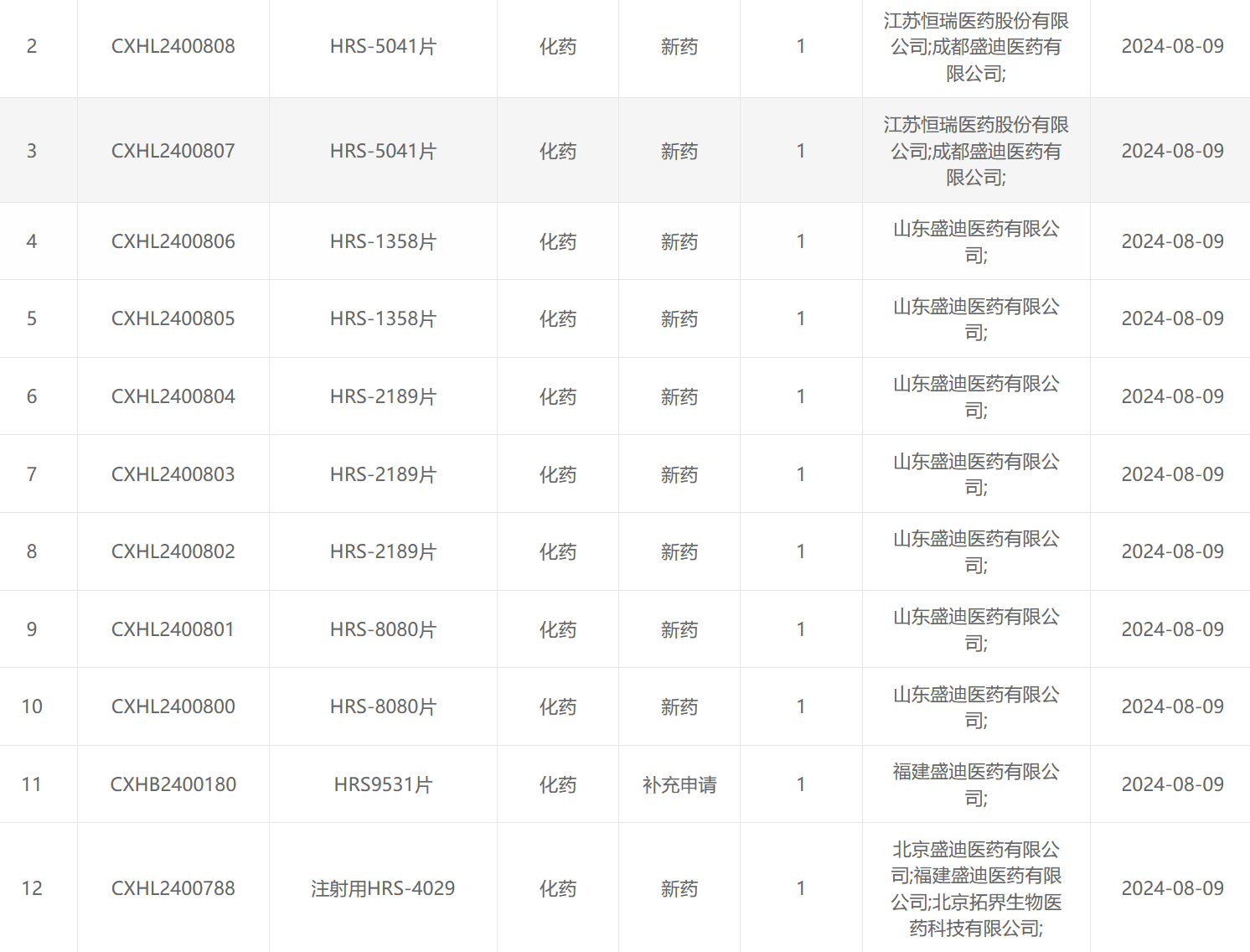
8月9日,据CDE受理品种情况中,恒瑞子公司盛迪有11款新药霸屏,且均为1类新药。

截图来源:CDE
经查询,山东盛迪、北京盛迪和福建盛迪均为江苏恒瑞医药股份有限公司的100%全资子公司,成都盛迪也由江苏恒瑞医药股份有限公司持股95.9279%和孙飘扬持股1.2156%,合计持股97%以上。可见都是恒瑞子公司。
受集采和医保降价影响,2021、2022年恒瑞医药陷入营收、净利双降的窘境。但在集采影响逐渐出清及创新药加持下,2023年公司业绩实现止跌回升,并将上升势头延续到了2024年一季度。

4月17日晚间,恒瑞医药发布2023年年报及2024年一季度报。2023年公司实现营业收入228.20亿元,同比增长7.26%;归母净利润43.02亿元,同比增长10.14%。2024年一季度,公司实现营收59.98亿元,同比增长9.2%;归母净利润13.69亿元,同比增长10.48%。
在经历集采的阵痛后,创新药已然成为恒瑞医药的重心,并逐渐成为其业绩增长的主要推动力。2023年公司创新药收入达106.37亿元(含税,不含对外许可收入),虽然面临外部环境变化、产品降价及准入难等因素影响,仍然实现了22.1%的同比增长,占营收比重达到46.6%。
截至目前,恒瑞医药已在国内获批上市14款自研创新药(13款1类新药)、2款合作引进创新药、6款2类改良型新药及1款生物类似药,涉及抗肿瘤、麻醉镇痛、消化代谢、抗感染等多个治疗领域,创新成果稳居行业领先地位。
<END>
想要解锁更多药物研发信息吗?查询药融云数据库(vip.pharnexcloud.com/?zmt-mhwz)掌握药物基本信息、市场竞争格局、销售情况与各维度分析、药企研发进展、临床试验情况、申报审批情况、各国上市情况、最新市场动态、市场规模与前景等,以及帮助企业抉择可否投入时提供数据参考!注册立享15天免费试用!








川公网安备51019002008863号
本网站未发布麻醉药品、精神药品、医疗用毒性药品、放射性药品、戒毒药品和医疗机构制剂的产品信息
收藏
登录后参与评论
暂无评论