
近日,CDE官网显示,石药欧意的4类仿制化药哌柏西利片上市申请获受理。

截图来源:CDE官网
此前,国内仅有原研辉瑞拿下了哌柏西利片的药品批文,获批生产销售。在仿制药申报方面,除了此次的石药集团,还有齐鲁制药也递交了上市申请,国内首仿药尚待决出。此外,哌柏西利的胶囊剂国内首仿药是由齐鲁制药拿下。
54亿明星抗癌药, 专利到期在即
CDK4/6抑制剂已成为乳腺癌治疗的一类重要靶向药物,其中的先行者和佼佼者便是辉瑞的Palbociclib(Ibrance,哌柏西利)。作为全球首个上市的CDK4/6抑制剂,辉瑞Ibrance自上市后就具有先发优势,全球销售额每年均呈稳定增长,为辉瑞带来相当丰厚的收益,2020年销售额突破50亿美元大关,2021年增速较为平缓,达54.4亿美元。
辉瑞哌柏西利全球销售额(微信搜索"药融云小程序"进行相关更多信息查询)

截图来源:药融云全球药物研发数据库
据药融云数据库显示,国内布局哌柏西利胶囊剂型的药企相对较多,其中哌柏西利胶囊在国内首仿药由齐鲁制药拿下,2020年12月获得3个品规的批文;后江苏豪森药业、江西山香药业等2家企业也陆续获得生产批文。由于原研专利在2023年1月10日才到期,故目前国内哌柏西利市场仍是辉瑞一家独大。
哌柏西利胶囊的新注册分类仿制药申报概况

截图来源:药融云中国药品审评数据库
不过,和在全球的炙手可热不同,哌柏西利在国内的市场还有待开拓。据药融云统计,2021年哌柏西利胶囊院内销售额近9千万元。值得一提的是,2019-2021年,辉瑞的哌柏西利均“提名”医保目录,但最终均未顺利进入医保。今年9月6日,医保局公布2022年国家医保药品目录调整通过初步形式审查药品名单。辉瑞的哌柏西利依旧在其中,本次能否入围,尚待揭晓。
哌柏西利胶囊院内销售情况

截图来源:药融云全国医院销售数据库
齐鲁制药、石药集团抢国内首仿药
哌柏西利片是辉瑞开发的另一口服剂型,于2019年11月获FDA批准。该品种于2020年12月向CDE递交上市申请,今年8月,辉瑞25mg、125mg的哌柏西利片获批在华上市。

截图来源:药融云中国药品批文数据库
齐鲁制药自拿下哌柏西利胶囊的国内首仿药后,也递交了哌柏西利片的上市申请,并于2022年4月获CDE受理。而此次石药欧意也递交了上市申请,国内首仿药或将从两者之中决出。
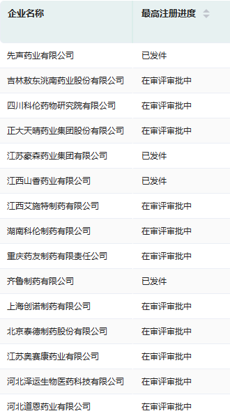
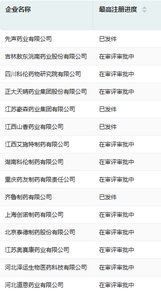
哌柏西利片一致性评价进度

截图来源:药融云一致性评价数据库
尽管目前国内尚未有企业对哌柏西利相关专利权无效挑战成功,但距离原研专利过期也不算太久。后续仿制药的上市势必对其市场造成冲击,可以预见到时该产品市场竞争一片腥风血雨。不过这也将惠及更多患者,为患者提供更多的选择。
参考来源:
[1] CDE官网
[2] 药融云数据库
想要解锁更多药品信息吗?查询药融云数据库(vip.pharnexcloud.com/?zmt-mhwz)掌握药品上市情况、药品批文信息、销售情况与各维度分析、市场竞争格局、药企申报审批信息、最新动态与前景等,以及帮助企业抉择可否投入时提供数据参考!注册立享15天免费试用!

—END—







川公网安备51019002008863号
本网站未发布麻醉药品、精神药品、医疗用毒性药品、放射性药品、戒毒药品和医疗机构制剂的产品信息
收藏
登录后参与评论
暂无评论