
近日,据NMPA官网公示,江苏恒瑞医药提交的钠钾镁钙葡萄糖注射液和南京正大天晴制药的复方醋酸钠林格注射液同日通过一致性评价。其中钠钾镁钙葡萄糖注射液是恒瑞医药的独家品种,南京正大天晴是复方醋酸钠林格注射液第2家过评的企业。

截图来源:NMPA官网
钠钾镁钙葡萄糖注射液:院内销售最高峰值近9亿
钠钾镁钙葡萄糖注射液为矿物质补充剂,用于补充水分与维持体内电解质平衡。钠钾镁钙葡萄糖注射液(商品名"乐加")为最新一代醋酸林格液进一步完善电解质配比,钠、钾、镁、钙、氯等离子含量与细胞外液基本一致,并增加了1%的葡萄糖,能起到稳定血糖,减少胰岛素抵抗的作用。
相对于其他晶体液,最新的醋酸林格液在脓毒症休克复苏应用中的安全性及有效性更加良好。根据药融云全国医院销售数据显示,钠钾镁钙葡萄糖注射液在院内的销售最高峰值近9亿。

截图来源:药融云全国医院销售数据库
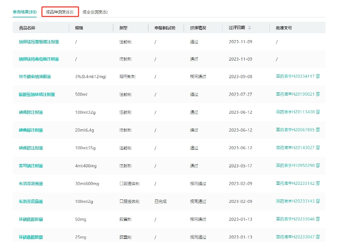
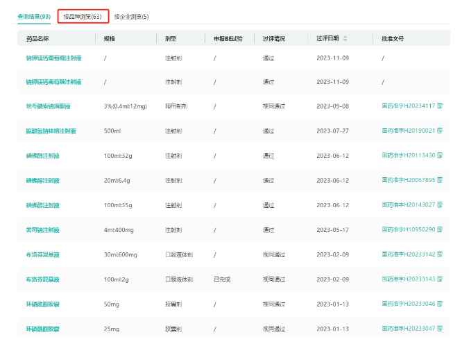
目前恒瑞医药已过评63个品种(93个品规)。2023年至今恒瑞医药已有7个品种过评(12个品规)。除本次过评的品种,其余还包含地夸磷索钠滴眼液、碳酸氢钠林格注射液、碘佛醇注射液等6个品种。

截图来源:药融云过评药品汇总
复方醋酸钠林格注射液:院内销售最高峰值达6亿
复方醋酸钠林格注射液是第四代电解质补充剂,临床用于循环血量及组织间液减少时的细胞外液的补充,代谢性酸中毒的纠正。据药融云数据统计,复方醋酸钠林格注射液2022年院内销售额达6.04亿元,同比增长达5.13%,2023年上半年销售额为2.98亿元。

截图来源:药融云全国医院销售数据库
目前该品种已有四川科伦药业、江苏正大丰海制药、南京正大天晴制药等5家国内药企获得生产批文。
本次南京正大天晴制药的复方醋酸钠林格注射液一致性评价补充申请获批。
此前,江苏正大丰海制药已于今年10月24日通过了该品种的一致性评价,并成为首家过评企业。南京正大天晴是第2家过评的企业。

截图来源:药融云过评药品汇总
2023年以来,南京正大天晴制药已有复方醋酸钠林格注射液、马昔腾坦片、达格列净片、聚桂醇注射液(聚多卡醇注射液)等10款产品通过/视同通过一致性评价。
<END>
要解锁更多企业药品研发信息吗?查询药融云数据库(vip.pharnexcloud.com/?zmt-mhwz)掌握药品各国上市情况、药品批文信息、销售情况与各维度分析、市场竞争格局、一致性评价情况、集采中标情况、药企申报审批信息、最新动态与前景等,以及帮助企业抉择可否投入时提供数据参考!注册立享15天免费试用!








川公网安备51019002008863号
本网站未发布麻醉药品、精神药品、医疗用毒性药品、放射性药品、戒毒药品和医疗机构制剂的产品信息
收藏
登录后参与评论
暂无评论