
近期生物类似药赛道捷报频传。据NMPA官网公示,6月25日,正大天晴研发的利拉鲁肽注射液获批上市,用于成人2型糖尿病患者提供血糖控制方案。7月5日,齐鲁制药注射用曲妥珠单抗生物类似药的上市申请已正式获批。根据齐鲁前期发布的新闻稿,这是该公司研发的赫赛汀生物类似药(QL1701),适用于人表皮生长因子受体-2(HER2)阳性的转移性乳腺癌治疗,前期研究表明QL1701与原研产品高度一致。

截图来源:NMPA官网
曲妥珠单抗原研产品为罗氏(Roche)赫赛汀,此前已在中国获批用于治疗乳腺癌和胃癌。据2020年世界卫生组织国际癌症研究机构(IARC)权威发布,乳腺癌已跃居全球恶性肿瘤发病率榜首,尤其是对女性而言,其影响尤为突出。尤为值得关注的是,HER2阳性乳腺癌作为乳腺癌的一个亚型,占据了约20%至25%的比例,凸显了针对此类肿瘤进行精准治疗的重要性。据药融云数据库显示,注射用曲妥珠单抗在2023年全国院内市场销售额超55亿元,同比增长为6.18%。

截图来源:药融云全国医院销售数据库
根据中国药物临床试验登记与信息公示平台,齐鲁制药此前已完成一项1期随机、双盲、单次给药、平行两组研究,对比了QL1701与赫赛汀在健康受试者中的药代动力学、安全性和免疫原性。目前,该公司正在开展一项3期临床研究,目的是比较QL1701与赫赛汀分别联合多西他赛治疗未经治HER2阳性转移性乳腺癌患者中有效性是否等效,并评估其安全性。
正大天晴深耕生物类似药,全方位产品线布局
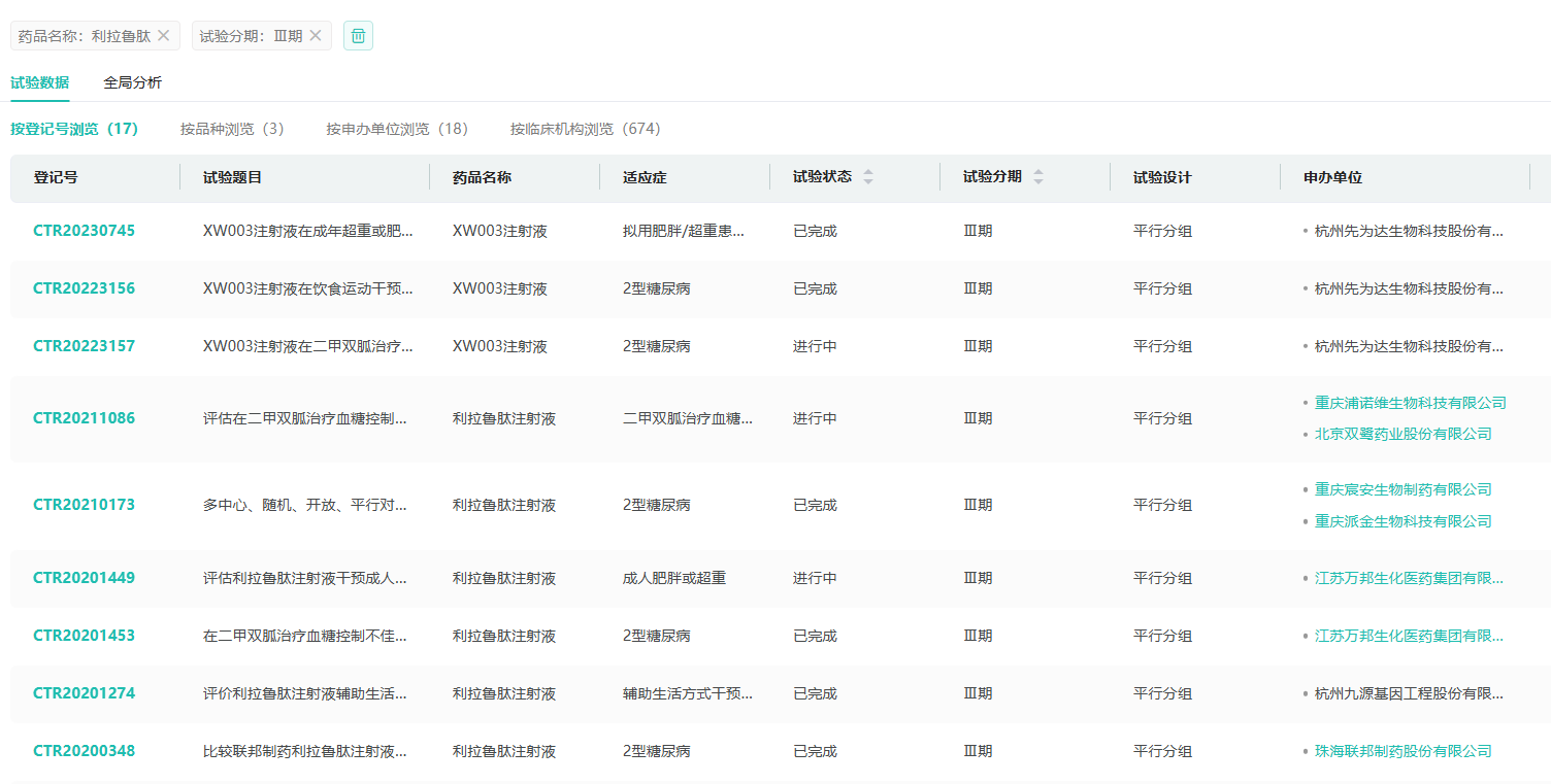
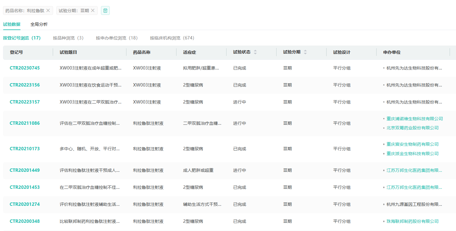
截至目前,国内已有多款利拉鲁肽生物类似药获批上市,分别来自华东医药、通化东宝、正大天晴等。与此同时,联邦制药、健元医药、翰宇药业和圣诺生物的利拉鲁肽生物类似药已顺利完成上市申报,而东阳光药、万邦生化医药、双鹭药业、宸安生物、派金生物的同类产品则正处于III期临床试验阶段。

截图来源:药融云中国临床试验数据库
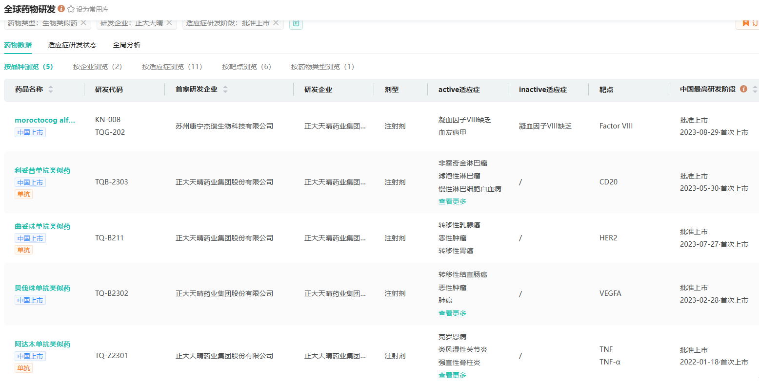
正大天晴药业集团在生物类似药领域展现了深远的布局视野,全面覆盖了肿瘤、自身免疫性疾病、代谢病等多个关键治疗领域。公司凭借自主研发、并购战略及国际合作等多重手段,持续不断地丰富其生物类似药产品线,近年来,正大天晴在生物类似药研发领域有多款创新药物已顺利进入临床申报阶段,部分更是成功上市,为患者带来了更多治疗选择。其中,利妥昔单抗注射液作为公司首款获批的生物类似药,不仅完成了严格的临床试验,还成功上市,赢得了市场的广泛认可。同时,阿达木单抗注射液与贝伐珠单抗注射液也凭借与原研药相当的生物等效性数据,顺利获得上市许可,进一步巩固了公司在生物类似药市场的领先地位。

截图来源:药融云全球药物研发数据库
随着生物类似药政策的不断完善和患者需求的日益增长,正大天晴在生物类似药市场的潜力被业界普遍看好。特别是在抗肿瘤和自身免疫性疾病等热门治疗领域,公司凭借其丰富的产品线、强大的研发实力以及敏锐的市场洞察力,有望进一步巩固并扩大其市场份额,成为行业内的佼佼者。
在国内生物类似药赛道上,正大天晴、恒瑞等传统企业稳健前行,也有信达生物、博锐生物等新兴Biopharma力量崛起。尽管初衷各异,生物类似药已成为各企业发展的重要驱动力。
"专利悬崖"后的蓝海赛道,华东医药等研发之门大开
随着一大批“药王”即将度过专利期,全球医药产业或将迎来一次集中的“专利悬崖”。延续这一逻辑推理,生物类似药有望在近几年成为风口。不同于创新药在研发上的比拼,生物类似药则是在确定的路径之下,比拼不同的工艺与速度,这也给了一向擅长“Fast-Follow”的国内药企创造了机会。

经过多年的沉淀,我国已经涌现出一批具备全球竞争力的药企,国产生物类似药进入快速发展期,据药融云数据库显示,中国在研生物类似药超130款。在利拉鲁肽这一经典GLP-1受体激动剂的市场竞争中,多家企业展现了强劲的实力。利拉鲁肽,由诺和诺德原创研发,作为长效降糖药的佼佼者,其显著的降糖效果与较小的副作用使其在2型糖尿病的治疗中广泛应用。

截图来源:药融云全球药物研发数据库
在国内市场,2023年3月30日,华东医药的利拉鲁肽类似药“利鲁平”成功获得上市许可,成为首款获批的国产治疗糖尿病的利拉鲁肽注射液,为企业赢得了市场先机。同年12月4日,通化东宝的利拉鲁肽注射液(商品名:统博力)也顺利获得药监局批准,适应症为2型糖尿病,这标志着国内第二款国产利拉鲁肽注射液的诞生,同时也是通化东宝在GLP-1受体激动剂领域的首次突破。

截图来源:药融云全球药物研发数据库
这一系列成就不仅体现了中国生物制药企业在技术创新和产品研发方面的快速进步,也预示着中国在全球生物类似药市场的地位将持续提升。
生物类似药爆发,市场增长驶入快车道
随着全球生物药市场的迅猛发展,生物类似药迎来了前所未有的发展机遇,成为医药市场的重要增长点。据相关数据统计,2023年全球生物药市场规模已突破5600亿美元大关,占据医药市场的近四成份额,并预计在未来几年内将持续增长,至2028年市场规模有望跃升至8000亿美元以上,市场份额有望进一步提升至40%以上。
在中国,生物类似药市场同样呈现出蓬勃发展的态势。自2019年首款国产生物类似药利妥昔单抗(汉利康)获批以来,中国生物类似药市场便步入了高速发展的快车道。百奥泰生物的格乐立、海正药业的安健宁、齐鲁制药的安可达等生物类似药相继获批上市,不仅丰富了国内医药市场的产品线,也展现了中国生物制药企业在该领域的强劲实力和创新能力。

截图来源:药融云全球药物研发数据库
在生物类似药领域,复宏汉霖以其卓越的研发实力和市场表现脱颖而出,成为该领域的领军企业。该公司不仅成功推出了中国首款生物类似药“汉利康”,更在2023年实现全面盈利,展现了其强大的市场竞争力和盈利能力。目前,复宏汉霖已拥有5款上市产品,其中4款为生物类似药,这些产品为公司贡献了超过七成的收入。特别是曲妥珠单抗“汉曲优”,其27.37亿元的骄人业绩更是成为公司营收的重要支柱。
近期,博锐生物旗下的杭州博之锐生物制药有限公司自主研发的托珠单抗注射液(商品名:安佰欣)也成功获NMPA的批准上市。作为罗氏公司托珠单抗注射液(雅美罗)的生物类似药,安佰欣的问世为类风湿关节炎(RA)、全身型幼年特发性关节炎(sJIA)及细胞因子释放综合征(CRS)患者带来了新的治疗曙光。

截图来源:药融云中国药品审评数据库
此外,中国生物类似药在国际化道路上也取得了显著成就。多款由国内企业自主研发的生物类似药已成功在欧美市场获得批准,标志着中国生物类似药研发实力已迈入国际先进行列。这些成果的取得不仅打破了原研产品的垄断格局,为患者提供了更多治疗选择,也进一步提升了中国医药产业在国际市场的竞争力和影响力。
参考来源:
[1] NMPA官网
[2] 药融云数据库
<END>
想要解锁更多药物研发信息吗?查询药融云数据库(vip.pharnexcloud.com/?zmt-mhwz)掌握药物基本信息、市场竞争格局、销售情况与各维度分析、药企研发进展、临床试验情况、申报审批情况、各国上市情况、最新市场动态、市场规模与前景等,以及帮助企业抉择可否投入时提供数据参考!注册立享15天免费试用!








川公网安备51019002008863号
本网站未发布麻醉药品、精神药品、医疗用毒性药品、放射性药品、戒毒药品和医疗机构制剂的产品信息
收藏
登录后参与评论
暂无评论