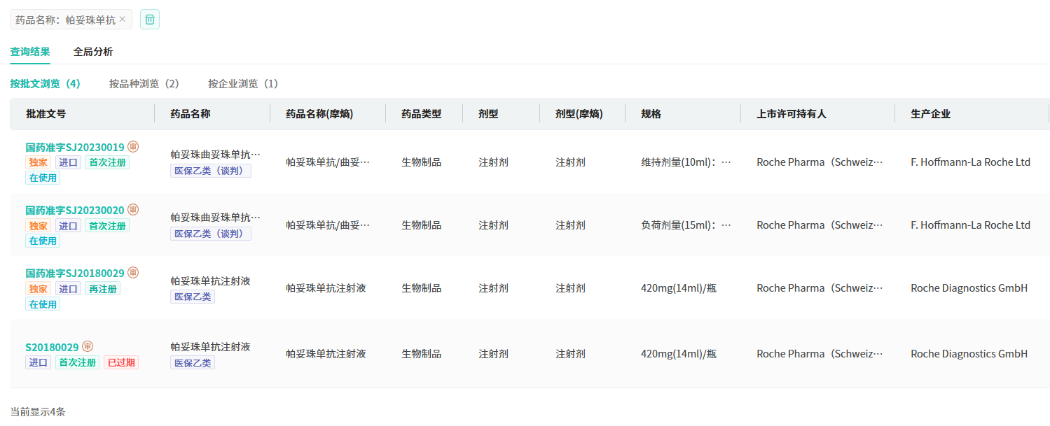
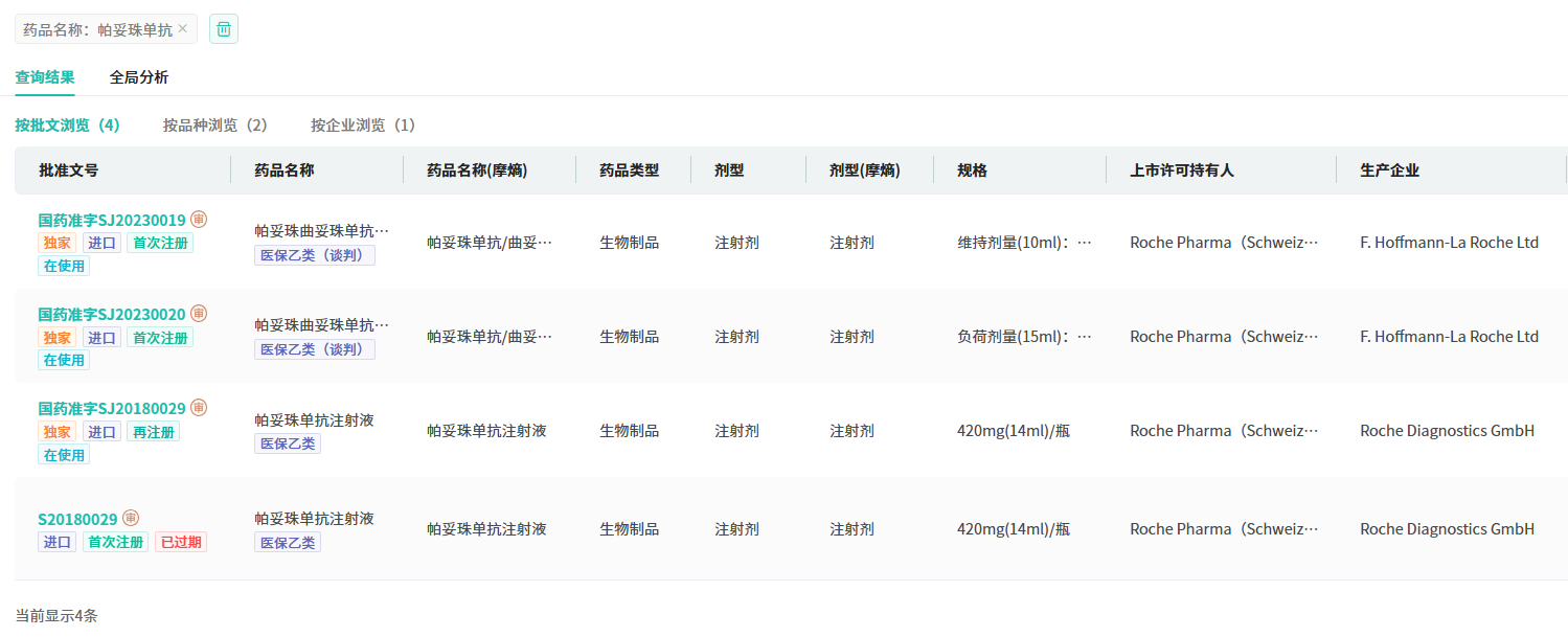
此前,国内帕妥珠单抗市场由罗氏独家占据。然而,随着齐鲁制药和正大天晴的加入,这一格局被彻底打破。2023年1月,齐鲁制药率先提交帕妥珠单抗注射液(3.3类新药)上市申请,同年5月正大天晴南京顺欣制药也紧随其后。此外,在2023年SABCS上,正大天晴的帕妥珠单抗生物类似药3期研究入选壁报,该研究为多中心、双盲、平行对照试验,比较帕妥珠单抗生物类似药与原研药治疗HER2阳性乳腺癌的疗效与安全性,结果显示两者相当。此次齐鲁制药和正大天晴同日获批,不仅彰显了其在生物制药领域的实力,更成功抢占了市场先机。

截图来源:摩熵医药(原药融云)中国药品批文数据库
然而,市场竞争并未因此平息。目前,已有7家企业投身于帕妥珠单抗生物类似药的开发,其中齐鲁制药和正大天晴已占据领先地位。而复宏汉霖和海正药业也已提交相关产品的上市申请,石药集团和双鹭药业则正积极推进其同类产品进入临床III期试验阶段。未来,随着更多企业的加入和产品的上市,帕妥珠单抗市场的竞争将更加激烈。

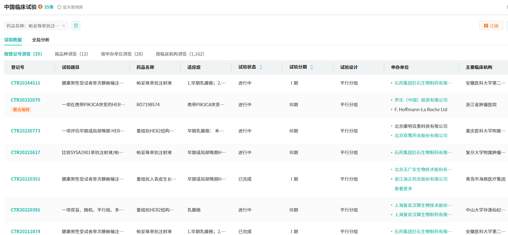
截图来源:摩熵医药(原药融云)中国临床试验数据库
齐鲁制药和正大天晴在生物制药领域的成绩远不止于此。今年以来,齐鲁制药已成功取得8个1类新药的临床试验批准,其中6个为治疗性生物制品1类新药,艾帕洛利托沃瑞利单抗注射液便是其中之一。而正大天晴也获得了3个治疗性生物制品新药的临床试验许可,贝莫苏拜单抗注射液同样备受关注。这些成果不仅展示了两家企业在生物制药领域的创新能力,更为其未来的发展奠定了坚实的基础。
参考来源:
[1] NMPA官网
[2] 摩熵医药(原药融云)数据库
想要解锁更多药物研发信息吗?查询摩熵医药(原药融云)数据库(vip.pharnexcloud.com/?zmt-mhwz)掌握药物基本信息、市场竞争格局、销售情况与各维度分析、药企研发进展、临床试验情况、申报审批情况、各国上市情况、最新市场动态、市场规模与前景等,以及帮助企业抉择可否投入时提供数据参考!注册立享15天免费试用!

收藏
登录后参与评论
暂无评论