复宏汉霖此次申报上市的帕妥珠单抗生物类似药,无疑为HER2市场再添一把火。复宏汉霖凭借“汉曲优”这款生物类似药产品已经开始收获国内和国外的大量市场份额,如今随着帕妥珠单抗生物类似药的申报获受理,有望快速达成“曲帕双靶”产品组合,进一步巩固其市场竞争力。
二、瓜分原研市场份额,国内企业争相发力
罗氏在HER2药物领域长期占据领先地位,但随着生物类似药的价格竞争和ADC产品的直接挑战,其品牌药物压力倍增。目前在国内曲妥珠单抗已有齐鲁制药、正大天晴药业、博之锐生物制药、安科生物、复宏汉霖生物制药五家企业获得上市批准,对罗氏展开攻势,意图分割原研药的市场份额。

截图来源:摩熵医药(原药融云)中国药品批文数据库整理
罗氏作为HER2治疗领域的领导者,也在持续巩固其地位,除曲妥珠单抗外,帕妥珠单抗及其“双靶”方案,加上皮下注射产品的医保纳入,仍在一定程度上延续着细分领域的产品生命周期。同时今年年初,罗氏推出曲帕双靶皮下制剂(赫捷康),简化治疗并在国内获批上市。然而,国内企业并未止步,纷纷布局生物类似药产品,展开激烈的市场争夺。
三、“曲帕双靶”竞争激烈,谁将执“双锋”领跑?
随着国内生物类似药相继步入申报上市的快车道,市场竞争的白热化程度不断升级。众多本土药企已全面布局利妥昔单抗、贝伐珠单抗等生物类似药市场,展开了激烈的份额争夺。在此基础上,政策推动的生物类似药集中采购(集采)策略,更是将价格竞争推向了一个全新的激烈阶段。
在HER2药物领域,无论是曲妥珠单抗还是帕妥珠单抗的生物类似药,以及创新产品如皮下注射剂和抗体偶联药物(ADC),都在持续且深刻地重塑着市场竞争格局。

截图来源:摩熵医药(原药融云)中国药品审评数据库
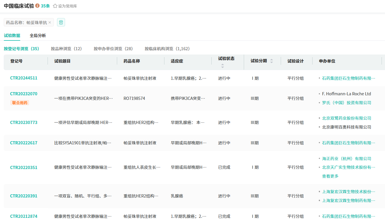
在帕妥珠单抗生物类似药的研发热潮中,国内药企如雨后春笋般层出不穷,超过20家企业正全力推进该药物的Ⅰ至Ⅲ期临床试验。帕妥珠单抗生物类似药的赛道上,已汇聚了诸如齐鲁制药、正大天晴、博锐生物等一众明星企业。这些企业不仅深耕帕妥珠单抗生物类似药市场,还积极涉足曲妥珠单抗生物类似药领域,力求实现“双剑合璧”的战略布局。

截图来源:摩熵医药(原药融云)中国临床试验数据库
值得一提的是,齐鲁制药自主研发的帕妥珠单抗生物类似药QL1209,已成功通过多中心Ⅲ期临床研究验证,并于2023年1月拔得头筹,成为国内首个同类上市药物。同年6月,齐鲁制药的注射用曲妥珠单抗也顺利获得NMPA的上市许可批准,这标志着国内生物类似药领域正迎来蓬勃发展的新时期。
此次,复宏汉霖的HLX11申报上市获CDE受理,正式迈出进军帕妥珠单抗市场的重要步伐。这不仅体现了HLX11在研发上取得有效研究进展,有望为为全球HER2阳性乳腺癌患者带来新希望;更彰显了复宏汉霖在曲妥珠单抗与帕妥珠单抗两大抗肿瘤细分市场的深入布局,力求在国内“曲帕双靶”生物类似药领域占据领先地位。随着罗氏原研药专利悬崖的临近,帕妥珠单抗生物类似药市场的竞争加剧,预示着生物类似药领域将迎来更为广阔的发展空间和显著的增长潜力。
小结
当前,国内曲妥珠单抗和帕妥珠单抗生物类似药市场呈现出多元化、竞争激烈且快速发展的态势。随着更多企业的加入和产品的上市,这一领域的竞争格局将更加复杂多变。谁将在这场“曲帕双靶”之战中脱颖而出,让我们拭目以待。
参考来源:
[1] CDE官网
[2] 摩熵医药(原药融云)数据库
想要解锁更多药物研发信息吗?查询摩熵医药(原药融云)数据库(vip.pharnexcloud.com/?zmt-mhwz)掌握药物基本信息、市场竞争格局、销售情况与各维度分析、药企研发进展、临床试验情况、申报审批情况、各国上市情况、最新市场动态、市场规模与前景等,以及帮助企业抉择可否投入时提供数据参考!注册立享15天免费试用!

收藏
登录后参与评论
暂无评论