据NMPA官网公示,扬子江药业子公司四川海汇药业的富马酸伏诺拉生片获批上市,视同过评,成为国内继山东新时代药业后,国产第2家获批生产该3亿大涨285%P-CAB抑酸药物的企业。

截图来源:NMPA官网
富马酸伏诺拉生片是武田原研的新型抑酸药(P-CAB抑酸药物,钾离子竞争性酸阻滞剂),最早于2015年2月在日本上市,用于治疗酸相关疾病,包括反流性食管炎(Reflux Esophagitis, 简称RE)、胃溃疡、十二指肠溃疡、在使用低剂量阿司匹林或非甾体类抗炎药治疗期间预防胃溃疡或十二指肠溃疡的复发和幽门螺杆菌的根除。
一直以来,抑酸药物市场由质子泵抑制剂(PPI)类药物主导,目前国内已上市的奥美拉唑、兰索拉唑、泮托拉唑等,PPI药物的市场规模也已达百亿级别,但仍存在半衰期短、抑酸不足等痛点。相较于PPI,P-CAB抑酸药物具备首剂全效、强效快速抑酸、半衰期较长、方便服用、不受进餐影响等自身优势。最新中国GERD指南已将P-CAB作为RE的首选药物之一,P-CAB或将逐渐替代PPI,在国内消化道溃疡和胃食管反流病的潜在用药空间巨大。
2019年底,武田向我国国家药监局递交的富马酸伏诺拉生片进口上市申请被批准,用于治疗反流性食管炎,商品名:沃克,成为首款获批进入中国市场的P-CAB抑酸药物。2020年底,伏诺拉生成功进入国家医保药品目录,定价为28元/20mg。据药融云统计,2021年沃克院内销售额一举破亿,达到1.57亿元。2022年前三季度,市场表现不俗,院内销售额超3亿元,同比增长了285%,上升趋势明显,前景可观。

截图来源:药融云全国医院销售数据库
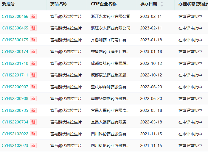
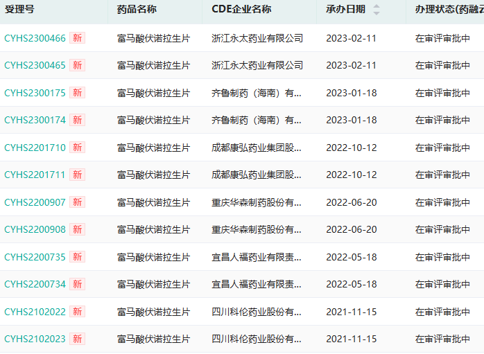
去年7月,首家报产富马酸伏诺拉生片的山东新时代药业获NMPA批准,斩获该P-CAB抑酸药物国内首仿+首家过评,本次扬子江药业为国产第2家获批生产伏诺拉生的药企。此外,另有齐鲁制药、成都康弘药业、科伦药业、人福药业和重庆华森制药已以仿制4类报产该药,江苏万高药业、石家庄四药、康恩贝制药等企业正在开展相应BE试验。
新分类报产伏诺拉生的在审受理号 (微信搜索"药融云小程序"进行相关更多数据查询)

截图来源:药融云中国药品审评数据库
参考来源:
[1] NMPA官网
[2] 药融云数据库
想要解锁更多药品信息吗?查询药融云数据库(vip.pharnexcloud.com/?zmt-mhwz)掌握药品各国上市情况、药品批文信息、销售情况与各维度分析、市场竞争格局、一致性评价情况、药企申报审批信息、最新动态与前景等,以及帮助企业抉择可否投入时提供数据参考!注册立享15天免费试用!

<END>








川公网安备51019002008863号
本网站未发布麻醉药品、精神药品、医疗用毒性药品、放射性药品、戒毒药品和医疗机构制剂的产品信息
收藏
登录后参与评论
暂无评论