
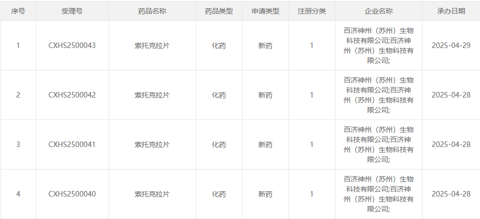
近日,国家药监局药品审评中心(CDE)公示,百济神州申报的索托克拉片的上市申请获得受理。该上市申请已经被CDE正式纳入优先审评,适用于治疗既往接受过治疗的慢性淋巴细胞白血病(CLL)/ 小淋巴细胞淋巴瘤(SLL)成人患者。这是继泽布替尼后,百济神州在血液肿瘤领域的又一自研产品,或将成为国内首款获批的国产BCL2抑制剂。

截图来源:国家药监局药品审评中心
索托克拉是百济神州开发的一款新一代BCL2抑制剂,旨在阻断可帮助肿瘤细胞存活的BCL2蛋白。BCL2蛋白异常高表达在CLL/SLL等多种血液恶性肿瘤中广泛存在,其通过阻断细胞凋亡程序,为肿瘤细胞营造了持续存活与增殖的有利环境。BCL2抑制剂能特异性地结合并抑制BCL2蛋白,有效恢复肿瘤细胞的凋亡通路,诱导癌细胞死亡。
当前,全球BCL2抑制剂市场由艾伯维的维奈克拉主导,其2020年在中国获批用于急性髓系白血病(AML),并在CLL/SLL等适应症中占据重要地位。据摩熵医药数据库-销售数据库显示,2023年维奈克拉医院端市场规模为1.6亿元,2024年上半年达1.35亿元,创历史新高。据艾伯维公布的财报显示,2024年其全球销售额已达25亿美元。然而,维奈克拉的耐药性和毒性问题为后续药物留下了市场空间,索托克拉凭借更优的药效学和临床数据,有望形成差异化竞争。

截图来源:摩熵医药全国医院销售(全终端)数据库
除百济神州的索托克拉外,亚盛医药的力胜克拉(lisaftoclax,APG-2575)已于2024年11月NDA获CDE受理,并被纳入优先审评,用于治疗难治或复发性(r/r)慢性淋巴细胞白血病╱小淋巴细胞淋巴瘤(CLL/SLL),还有诺诚健华的mesutoclax处于III期临床阶段。此外还有复创医药的FCN-338,正大天晴的TQB3909处于II期研究阶段。

近年来,创新治疗方式不断涌现,以BTK抑制剂、CD20单抗等为代表的靶向治疗药物不断改善CLL患者的预后,开启了CLL治疗的“无化疗”时代。但CLL患者的预后仍存在诸多未被满足的需求,包括缓解深度不够,高危患者生存期有待改善,长期用药依从性不佳等。BCL2抑制剂的出现,为CLL治疗开辟了全新路径。索托克拉作为百济神州自主研发的新一代BCL2抑制剂,旨在阻断可帮助肿瘤细胞存活的BCL2蛋白,索托克拉片若顺利获批,将填补这一领域的治疗空白,同时也会在抗肿瘤药物市场激起层层涟漪。
想要解锁更多药物研发信息吗?查询摩熵医药(原药融云)数据库(vip.pharnexcloud.com/?zmt-mhwz)掌握药物基本信息、市场竞争格局、销售情况与各维度分析、药企研发进展、临床试验情况、申报审批情况、各国上市情况、最新市场动态、市场规模与前景等,以及帮助企业抉择可否投入时提供数据参考!注册立享15天免费试用!








川公网安备51019002008863号
本网站未发布麻醉药品、精神药品、医疗用毒性药品、放射性药品、戒毒药品和医疗机构制剂的产品信息
收藏
登录后参与评论
暂无评论