
5月20日,三生制药发布公告,公司与辉瑞就PD-1/VEGF双特异性抗体(SSGJ-707)订立许可协议。

根据许可协议,三生制药及沈阳三生将向辉瑞授予独家许可,以在全球(不包括中国内地)开发、生产、商业化及以其他方式开发其突破性PD-1/VEGF双特异性抗体。三生制药及沈阳三生将保留许可产品于中国内地的开发、制造、商业化及其他开发权。
辉瑞将拥有在中国商业化许可产品的选择权。辉瑞应负责承担许可产品在许可地区内的所有未来试验的开发及监管事务的所有费用。
根据许可协议,三生制药将收到12.50亿美元的首付款,并可获得总额最多为48亿美元的潜在付款,包括开发、监管批准及销售里程碑付款。上述所有款项均不可退还且不可抵扣。此外,三生制药还将就许可地区的产品净销售额收取双位数百分比的梯度特许权使用费。

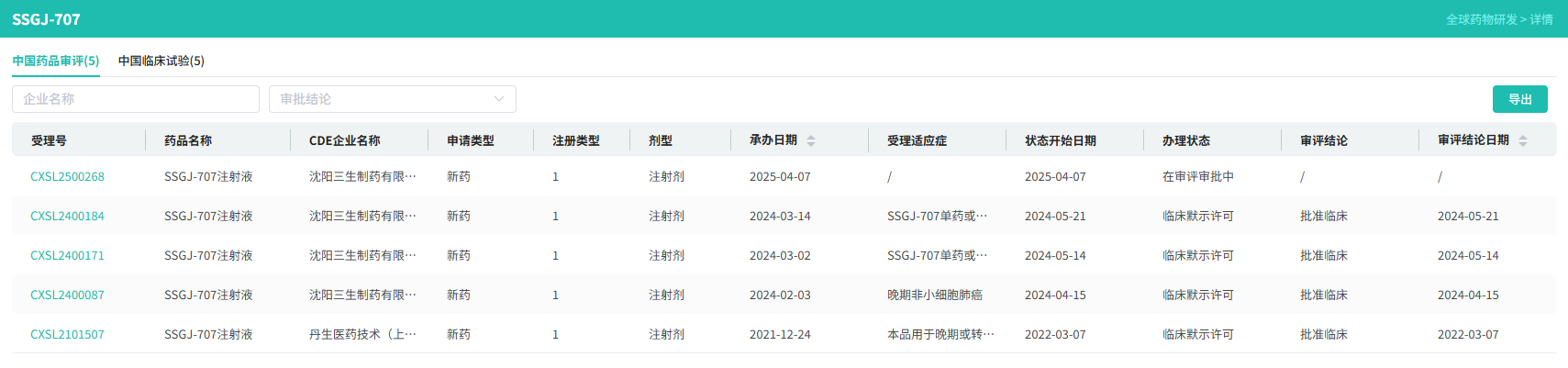
该许可产品是三生制药基于其专有CLF2平台自主研发的靶向PD-1/VEGF的双特异性抗体。其目前正在中国进行多项临床研究,包括计划启动获CDE批准的用于一线治疗PD-L1阳性局部晚期或转移性非小细胞肺癌(NSCLC)的III期临床研究,并已获得中国突破性疗法认定资格。
此外,SSGJ-707注射液正在中国进行多项II期研究,包括联合化疗一线治疗晚期NSCLC、转移性结直肠癌及晚期妇科肿瘤。其亦获得了美国食品药品监督管理局关于其新药临床试验申请的批准。

截图来源:摩熵医药数据库









川公网安备51019002008863号
本网站未发布麻醉药品、精神药品、医疗用毒性药品、放射性药品、戒毒药品和医疗机构制剂的产品信息
收藏
登录后参与评论
暂无评论