
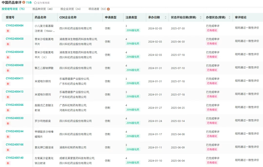
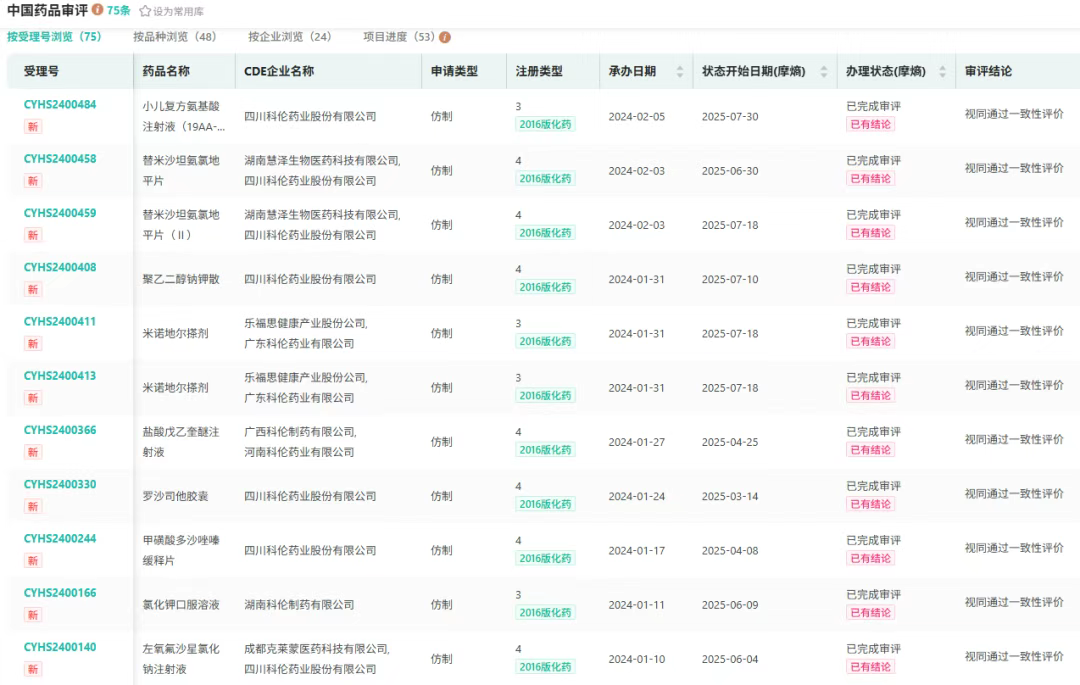
7月30日,国家药监局(NMPA)官网显示,四川科伦药业股份有限公司按仿制4类申报的奈妥匹坦帕洛诺司琼胶囊获批上市,视同通过一致性评价,一举拿下该复方止吐药首仿,齐鲁制药也随后获批。

截图来源:NMPA官网
奈妥匹坦帕洛诺司琼胶囊是全球首款同时阻断5-HT3受体和NK-1受体双通道的口服复方药物,用于预防高度致吐性化疗引起的急性/延迟性恶心和呕吐。

截图来源:摩熵医药全球药物研发数据库
该药物由Helsinn Healthcare公司和卫材合作开发,最早于2014年10月获FDA批准上市,2019年在国内上市,目前已纳入国家医保乙类目录。
在医保推动下,奈妥匹坦帕洛诺司琼胶囊市场快速增长:2022-2024年中国院内销售额涨幅分别达47128%、928.63%和172.1%,累计销售额达3.57亿元,其中2024年为2.54亿元;展望2025年,该产品有望冲击超3亿元的销售目标。












川公网安备51019002008863号
本网站未发布麻醉药品、精神药品、医疗用毒性药品、放射性药品、戒毒药品和医疗机构制剂的产品信息
收藏
登录后参与评论
暂无评论