近日,NMPA发布新一批药品批准证明文件送达信息,其中,齐鲁制药2品种同日通过一致性评价:枸橼酸西地那非片、培唑帕尼片,其中培唑帕尼片为国内首仿药。值得注意的是,南京正大天晴的培唑帕尼片也同日获批,成为与齐鲁制药同时拿下国内首仿药的企业。

截图来源:NMPA官网
一、培唑帕尼片
培唑帕尼(Pazopanib,Votrient)是葛兰素史克开发的一种血管内皮生长因子受体(VEGFR)酪氨酸激酶抑制剂,2014年在葛兰素史克与诺华的资产置换交易中培唑帕尼被打包转入诺华旗下,适用于晚期肾细胞癌和晚期软组织肉瘤患者。
2017年2月21日,培唑帕尼获药监局批准用于晚期肾细胞癌患者的一线治疗,以及曾接受细胞因子治疗的晚期肾细胞癌患者的治疗。并在2018年10月经谈判降价65%,与舒尼替尼、阿昔替尼一同纳入国家医保。据药融云统计,目前培唑帕尼院内销售额仍保持着逐年递增趋势,2021年达2.65亿元,同比增长21.42%。

截图来源:药融云全国医院销售数据库
此前该品种一直由诺华独家生产销售,此次齐鲁制药与南京正大天晴的培唑帕尼片获批上市,同时斩获国内首仿药。此外,还有石药欧意、上海创诺制药的上市申请在审评审批中,江苏华阳制药、奥赛康正在开展培唑帕尼的BE试验。
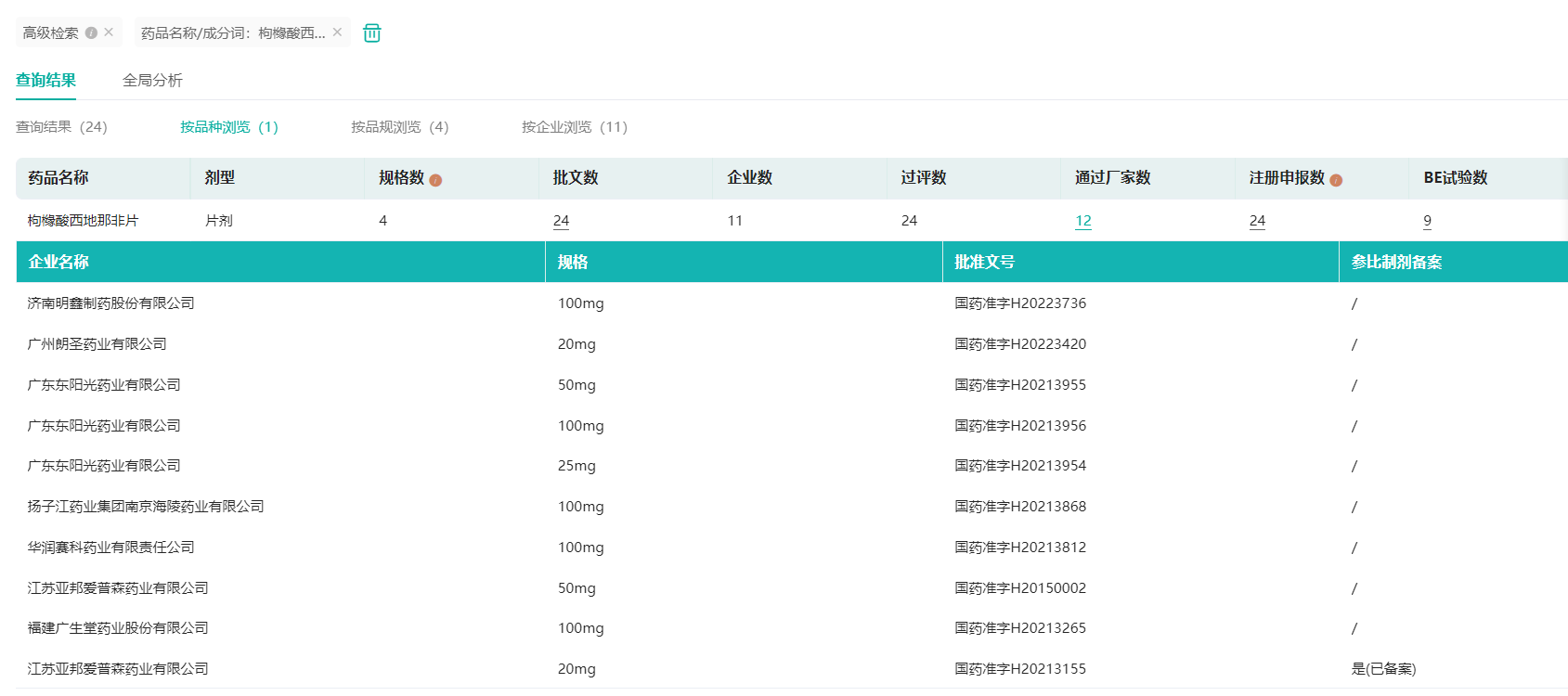
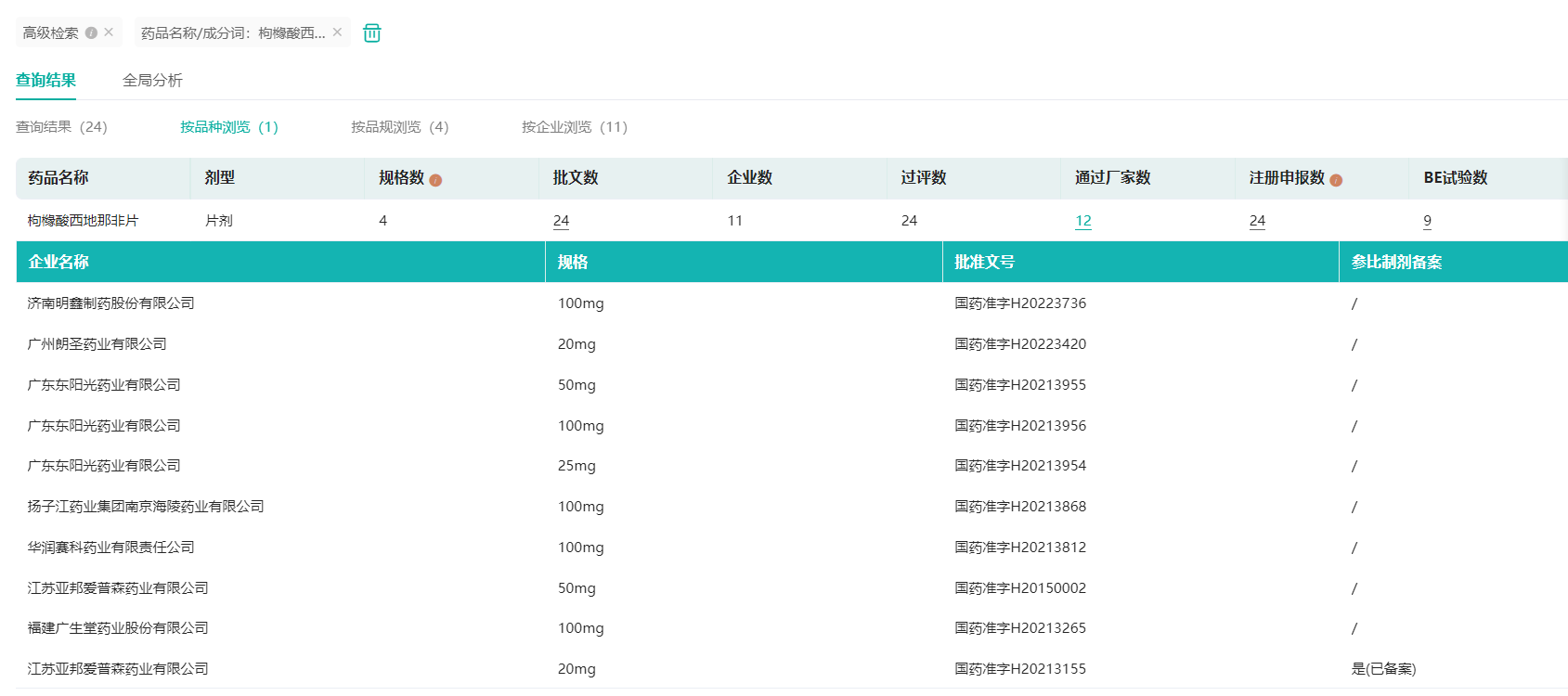
二、枸橼酸西地那非片
西地那非原研辉瑞,于1998年3月27日获得FDA的上市许可,成为首个治疗ED的磷酸二酯酶-5(PDE-5)抑制剂,为ED一线用药。此次也并非齐鲁制药首次过评该品种,2020年8月,齐鲁制药便已过评25mg/100mg/50mg的枸橼酸西地那非片,且均已被纳入第三批集采中。
据药融云数据库,目前国内获批生产枸橼酸西地那非片的企业有16家,其中白云山医药、扬子江药业、广东东阳光药业、齐鲁制药等12家已过评,其中白云山医药斩获了国内首仿药。
枸橼酸西地那非片一致性评价通过情况(微信搜索"药融云小程序"进行相关更多数据查询)

截图来源:药融云一致性评价数据库
至此,齐鲁制药共有122个产品通过一致性评价,其中普罗布考片、注射用厄他培南钠等49个均为国内首仿药。
参考来源:
[1] NMPA官网
[2] 药融云数据库
想要解锁更多药品信息吗?查询药融云数据库(vip.pharnexcloud.com/?zmt-mhwz)掌握药品各国上市情况、药品批文信息、销售情况与各维度分析、市场竞争格局、一致性评价情况、药企申报审批信息、最新动态与前景等,以及帮助企业抉择可否投入时提供数据参考!注册立享15天免费试用!

<END>








川公网安备51019002008863号
本网站未发布麻醉药品、精神药品、医疗用毒性药品、放射性药品、戒毒药品和医疗机构制剂的产品信息
收藏
登录后参与评论
暂无评论