在今年6月,国际制药界知名的医药专业杂志《制药经理人》(Pharm Exec)第23次推出全球制药企业TOP50榜单,该榜单主要依据各大药企的处方药销售收入进行排名。在2019年,榜单中首次有中国药企入选,其中,中国生物制药排名全球第42位,恒瑞医药排名第47位。
在2023年全球制药企业TOP50排行榜中,有4家中国药企上榜,分别是中国生物制药(排名39,去年第40名)、上海医药(排名41,与去年一样)、江苏恒瑞医药(排名43,去年第32名)、石药集团(排名48,去年第43名)。
1.中国生物制药——连续五年入榜,排名稳步提升
中国生物制药连续五年上榜。五年来,中国生物制药在全球制药企业TOP50的排名稳步提升。药融云上市医药企业年报数据库显示,2022年中国生物制药实现营业收入287.8亿元,同比增长7.1%;归母净利润29.9亿元,同比增长16.4%;研发投入达44.54亿元,同比增长16.6%,占收入比增至15.48%。
中国生物制药2022年年报信息查询(部分)

图片来源:药融云上市医药企业年报数据库
中国生物制药产品主要集中在肝病、肿瘤、心血管、骨科、肠外营养、感染疾病、呼吸疾病等领域。其中,抗肿瘤用药增速显著,2022年收入达到91.9亿元,同比增长14.3%,占营收比为31.9%,是为业绩贡献最大的板块,主要药品有盐酸安罗替尼胶囊(商品名:福可维)、派安普利单抗注射液(商品名:安尼可)、醋酸阿比特龙片(商品名:晴可舒)、泊马度胺胶囊(商品名:安跃)。
药融云全国医院销售数据库显示,盐酸安罗替尼胶囊于2018年5月在国内获批上市,2019年在医院端市场的销售规模达到16.05亿元,此后处于稳步增长趋势,2021年与2022年稍有下滑,但仍达到超22亿元的销售规模。
盐酸安罗替尼胶囊全国医院销售年度趋势

图片来源:药融云全国医院销售数据库
派安普利单抗注射液于2021年8月在国内获批上市,2022年医院端市场的销售规模为3318.67万元;醋酸阿比特龙片于2019年7月获批上市,为国内同品种第二家,2022年在医院端市场的销售额为13.39亿元,其中正大天晴(中国生物制药附属公司)占比40.15%,销售额超5亿元,位居榜首;原研企业强生占比21.14%,排名第二。
泊马度胺胶囊于2020年11月获批上市,为该品种的国内首仿+首家过评;2022年在医院端市场的销售规模为8006.41亿元,同比增长904.85%。
泊马度胺胶囊首家过评-审评时间轴

图片来源:药融云中国药品审评数据库
此外,2022年中国生物制药在外科/镇痛(主要药品:氟比洛芬凝胶贴膏、骨化三醇软胶囊)、肝病(主要药品:异甘草酸镁注射液、恩替卡韦分散片)、呼吸感染领域(主要药品:布地奈德混悬液、多黏菌素E甲磺酸钠注射液)的收入分别为48.8亿元、38.4亿元和29.2亿元,占营收比分别为17%、13.3%、10.2%。
据药融云数据库统计,中国生物制药2022年获批临床新适应症23个,涉及创新药17个,而处于临床与上市申请阶段的创新药超过50个。截至目前,其在研产品超100个,其中抗肿瘤用药有53个、肝病用药12个、呼吸系统用药26个、外科/镇痛用药12个,共涉及1类创新产品近60个。
2.恒瑞医药——“研发一哥”研发投入,位居中国药企榜首
恒瑞医药也是连续五年上榜。数据显示,2022年其处方药销售额40.1亿美元,研发投入为8.93亿美元;在研发投入方面,位居中国药企首位。2022年恒瑞医药实现营业收入212.75亿元,同比减少17.87%,主要是受集采仿制药收入下跌、创新药执行医保谈判价等相关因素影响了整体的业绩表现。
作为国内“研发一哥”,2022年恒瑞医药获批上市了3款创新药,分别为羟乙磺酸达尔西利片(商品名:艾瑞康)、脯氨酸恒格列净片(商品名:瑞沁)和瑞维鲁胺片(商品名:艾瑞恩),且均已纳入国家医保目录。
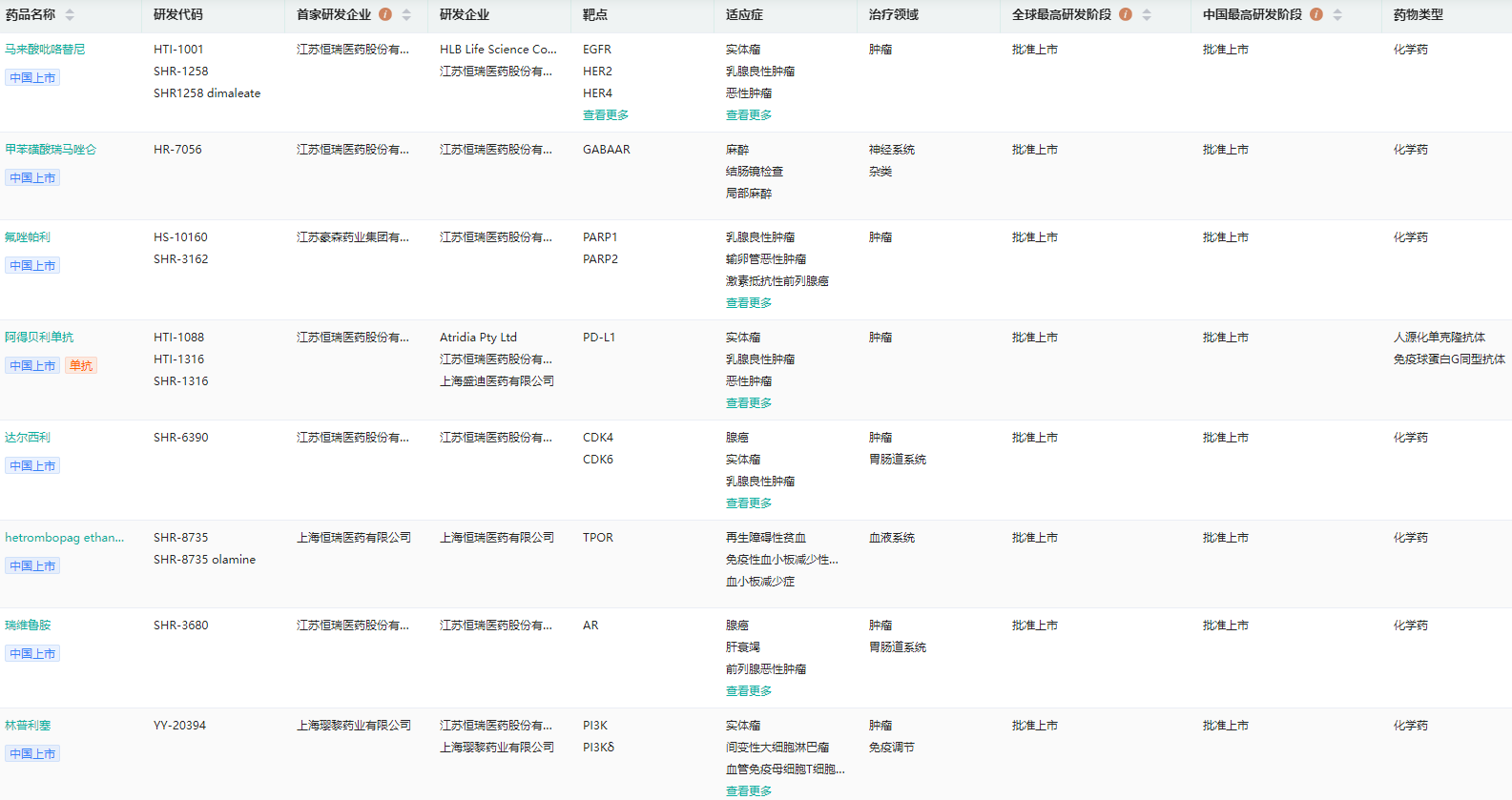
药融云数据库显示,截至2023年6月底,恒瑞医药共有15款创新药获批上市,包括自研创新药13款(其中有11款已纳入国家医保目录)、合作引进创新药2款。
恒瑞医药上市创新药查询
图片来源:药融云全球药物研发数据库
此外,还有5个创新药已递交了上市申请并获受理,分别是SHR8058滴眼液(NOV03)、夫那奇珠单抗注射液、SHR-8554、SHR-0302(硫酸艾玛昔替尼片)、注射用瑞卡西单抗。
除了持续深耕丰富肿瘤领域研发管线,恒瑞医药在代谢性疾病、感染疾病、自身免疫疾病、疼痛管理、心血管疾病、血液疾病、神经系统疾病等领域等领域也在不断丰富创新药布局。
在代谢性疾病领域,目前已有2款创新药获批上市,分别是脯氨酸恒格列净片(商品名:瑞沁)、磷酸瑞格列汀(商品名:瑞泽唐),用于改善成人2型糖尿病(T2DM)患者的血糖控制。此外,还有多款产品在研,其中HR-20033和HRX-0701处于上市申报阶段。
恒瑞医药药物研发-适应症分布格局

图片来源:药融云全球药物研发数据库
在感染疾病领域,恒瑞医药的首个1类创新药奥特康唑(SHR-8008),于2022年4月率先在美国获批上市,后于2023年6月在国内获批上市,用于治疗重度外阴阴道假丝酵母菌病(VVC)。这也是恒瑞合作引进产品中第二个上市的创新药。此外,还有4款产品正在开展临床研究,涉及慢性乙肝、尿路感染、念珠菌血症等。
参考来源:
[1] 《制药经理人》杂志
[2] 药融云数据库
想要解锁更多企业药品研发信息吗?查询药融云数据库(vip.pharnexcloud.com/?zmt-mhwz)掌握药品各国上市情况、药品批文信息、销售情况与各维度分析、市场竞争格局、一致性评价情况、集采中标情况、药企申报审批信息、最新动态与前景等,以及帮助企业抉择可否投入时提供数据参考!注册立享15天免费试用!

<END>







川公网安备51019002008863号
本网站未发布麻醉药品、精神药品、医疗用毒性药品、放射性药品、戒毒药品和医疗机构制剂的产品信息
收藏
登录后参与评论
暂无评论