
8月6日,据CDE官网显示,扬子江药业集团南京海陵药业提交的4类仿制药布瑞哌唑片上市申请已获受理。据药融云数据库显示,原研品种在2023年全球销售额超22亿美元。

截图来源:CDE
布瑞哌唑由灵北制药和大冢制药共同研发,该药物通过调控大脑内的单胺能神经传导系统发挥作用,是一种非典型抗精神病药物,可用于治疗精神分裂症、抑郁症等疾病。据药融云数据库显示,灵北制药/大冢制药的布瑞哌唑2023年全球销售额超22亿美元。

截图来源:药融云全球药物研发数据库
在国内市场,大冢制药于2022年12月首次提交布瑞哌唑片上市申请获受理,最终于2024年6月,在中国获批上市。除此之外,国内尚无获批上市的布瑞哌唑片仿制药及改良剂型产品,其中改良剂型包括口崩片、注射剂等。

截图来源:药融云中国药品批文数据库
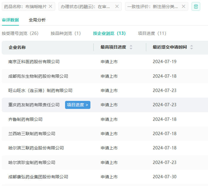
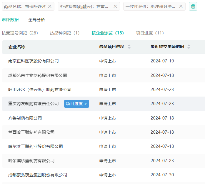
目前国内有重庆药友制药、成都苑东生物制药、齐鲁制药、湖南科伦制药等13家企业提交布瑞哌唑片仿制药的上市申请,均在审评审批中,若此次扬子江能顺利获批,首仿药有望后来者居上。

截图来源:药融云中国药品审评数据库
2024年至今,除布瑞哌唑片,扬子江药业(含子公司)还提交了琥珀酸地文拉法辛缓释片 、克立硼罗软膏、注射用醋酸西曲瑞克、硫酸氨基葡萄糖胶囊 、西甲硅油乳剂5个品种的仿制申请,均在审评审批中。
此外,今年以来扬子江药业(含子公司)有替吉奥胶囊、他氟前列素滴眼液、卡前列素氨丁三醇注射液等10个品种过评。
参考来源:
[1] CDE官网
[2] 药融云数据库
<END>
想要解锁更多药物研发信息吗?查询药融云数据库(vip.pharnexcloud.com/?zmt-mhwz)掌握药物基本信息、市场竞争格局、销售情况与各维度分析、药企研发进展、临床试验情况、申报审批情况、各国上市情况、最新市场动态、市场规模与前景等,以及帮助企业抉择可否投入时提供数据参考!注册立享15天免费试用!








川公网安备51019002008863号
本网站未发布麻醉药品、精神药品、医疗用毒性药品、放射性药品、戒毒药品和医疗机构制剂的产品信息
收藏
登录后参与评论
暂无评论