
7月28日,赛诺菲公布2023第二季度业绩:销售额99.65亿美元,同比增长3.3%;全年企业每股收益1.74欧元,同比增长8.1%。全球各事业部表现,特药营收44.03亿欧元,疫苗营收12.23亿欧元,普药营收31.14亿欧元,消费者健康药业营收12.25亿欧元。其中,中国销售额持续增长,达到7.85亿欧元。

季报中还披露,赛诺菲和BioNTech看到中期分析结果后,放弃了一款可注射到肿瘤中的 mRNA 疗法BNT131 (SAR441000) 的研发。

SAR441000 是一种免疫刺激mRNA混合物,编码IL-12sc、IL-15、IFN-α和粒细胞-巨噬细胞集落刺激因子GMCSF。通过在肿瘤微环境中表达细胞因子,这种组合旨在帮助免疫系统识别和攻击癌细胞。
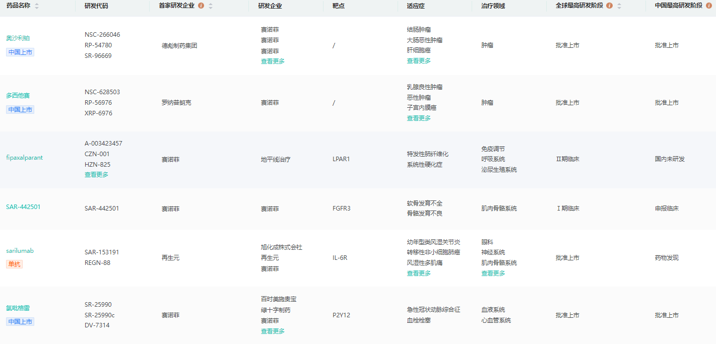
SAR441000全球研发进度查询(部分)

截图来源:药融云全球药物研发数据库
该机制理论上与免疫检查点抑制剂是互补的,并且该混合物可以改善小鼠的存活率和促使肿瘤消退。
2015 年,两家公司首次合作开发癌症免疫疗法。2019 年,他们将SAR441000 纳入一项I期试验,该试验招慕了 77 名晚期实体瘤患者。两家公司正在测试该药作为单一疗法以及与赛诺菲/再生元PD-1抑制剂Libtayo的联合疗法的疗效。
2021年9月8日,发表在《Science Translational Medicine》上的临床前数据显示,SAR441000可使80%以上小鼠肿瘤完全消退,并且与PD-1抑制剂的联合使用可进一步增强抗肿瘤作用。
然而,在对早期数据进行中期分析后,BioNTech和赛诺菲共同决定放弃该瘤内候选药物的开发。
除此之外,赛诺菲还剔除了一款针对老年人RSV的mRNA疫苗 SP0274。取而代之的是另一款用于治疗老年人RSV的mRNA疫苗SP0256。
关于赛诺菲
赛诺菲是一家全球领先的医药健康企业,2022年 净收入 427.97亿欧元, 同比增长 7%。 [26] 以患者需求为本,研究、开发并推广创新的治疗方案。赛诺菲的主要业务涵盖三个领域:制药、人用疫苗和动物保健。2014年,赛诺菲 净销售额 达337.70亿欧元。
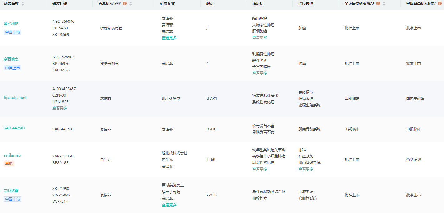
赛诺菲研发管线(部分)

截图来源:药融云全球药物研发数据库
参考资料:
公司官网
药融云数据库
要解锁更多企业药品研发信息吗?查询药融云数据库(vip.pharnexcloud.com/?zmt-mhwz)掌握药品各国上市情况、药品批文信息、销售情况与各维度分析、市场竞争格局、一致性评价情况、集采中标情况、药企申报审批信息、最新动态与前景等,以及帮助企业抉择可否投入时提供数据参考!注册立享15天免费试用!








川公网安备51019002008863号
本网站未发布麻醉药品、精神药品、医疗用毒性药品、放射性药品、戒毒药品和医疗机构制剂的产品信息
收藏
登录后参与评论
暂无评论