
近日,国内透皮制剂领域领军企业北京泰德制药股份有限公司(以下简称“泰德制药”)宣布,其自主研发的罗替高汀透皮贴片(商品名:罗菲定®)正式获得国家药品监督管理局批准上市,用于早期特发性帕金森病症状及体征的单药治疗,或与左旋多巴联合用于病程中的各个阶段。
作为泰德制药在神经领域布局的又一款重磅单品,该产品的成功上市不仅丰富了帕金森病治疗的国产选择,更标志着“好贴剂,泰德造”的品牌理念在透皮制剂赛道实现又一重要突破。
一日一贴满足500万患者的便捷选择
帕金森病是中老年常见的神经退行性疾病,我国65岁以上人群患病率达1.7%,预计2030年患病人数将突破500万。据摩熵医药数据库显示,帕金森病用药,在2024年全终端医院市场销售额超32亿元,2025年上半年销售额超16亿元。该疾病临床表现复杂,除动作迟缓、肌强直、静止性震颤、姿势平衡障碍等运动症状外,还常伴有嗅觉障碍、快速眼动期睡眠行为异常、抑郁焦虑、便秘等多种非运动症状。并且随着病情进展,患者有效治疗时间变窄,“关”期延长,治疗与照护负担不断加剧。

截图来源:摩熵医药全终端医院销售数据库
截至目前,帕金森病创新药在全球获批超85款。在临床治疗方面,帕金森病目前仍无法治愈,主要依赖药物缓解症状、延缓疾病进展,并辅以手术、康复及中医药等综合管理手段。常用药物包括左旋多巴制剂、多巴胺受体激动剂、MAO-B抑制剂、COMT抑制剂等。其中,多巴胺受体激动剂作为早发型患者的首选方案之一,对控制运动波动、改善生活质量具有明确效果。

截图来源:摩熵医药全球药物研发数据库
而罗替高汀作为非麦角类多巴胺受体激动剂,通过透皮给药方式避免肝脏首过效应,实现24小时稳定血药浓度,有效改善帕金森病患者“慢、抖、僵、跌”等核心症状,尤其适合吞咽困难或存在“开关现象”的患者。该产品已纳入多个国内外权威指南,成为早发型帕金森病的初期治疗推荐用药。该品种在全球获得了市场的广泛认可,据摩熵医药数据库显示,2023年该品种在全球的销售额已超3亿美元。

截图来源:摩熵医药全球药物研发数据库
罗菲定®一日一贴的给药方式,也为伴有吞咽困难或认知障碍的患者提供了极大便利,显著提升用药依从性。2025年10月科伦药业拿下罗替高汀透皮贴片国内首仿,此次泰德制药获批上市,成为国内第2家获批并过评该品种的药企。
与此同时,罗菲定®在研发、生产、质控全链条践行“比肩原研、优于原研”的目标。加上泰德制药十多年来被市场反复验证的优势平台,罗菲定®不仅实现了疗效上与原研等效,还得到了安全与舒适度上的双重提升,特别是在持黏力稳定性及皮肤刺激性方面——贴敷24小时后持黏力仍保持稳定,皮肤不良反应发生率极低,更适合长期用药患者。而依托泰德制药3.3亿贴/年的规模化贴剂产能布局,罗替高汀贴也将实现稳定供应,保障临床用药需求。
从抗炎镇痛到神经领域的全面拓展
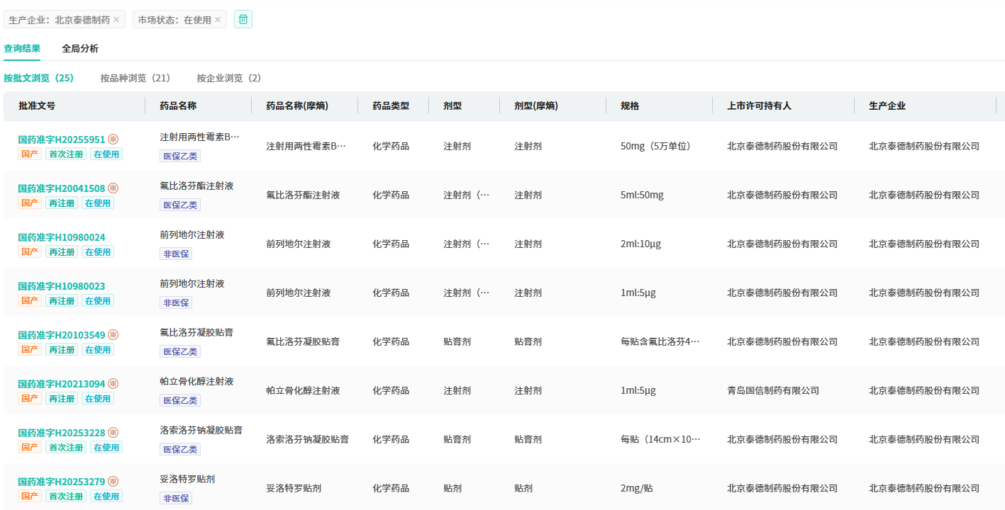
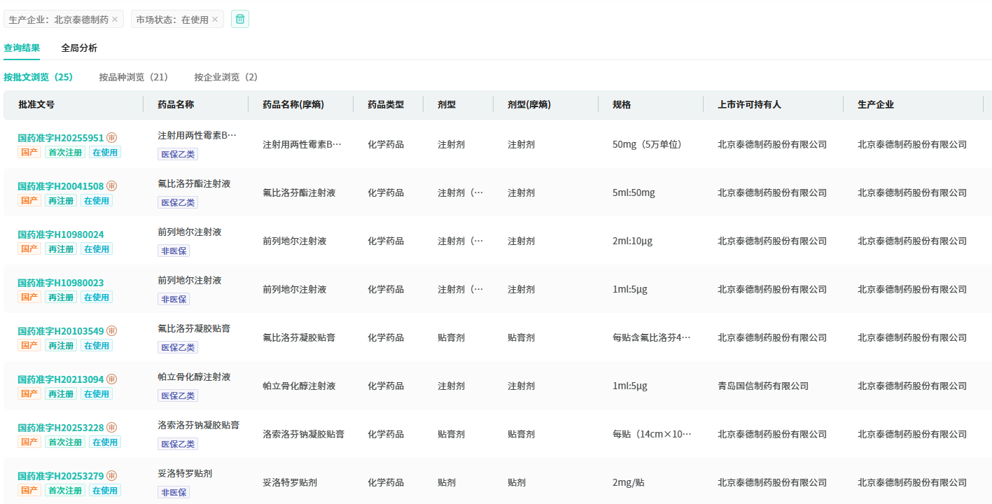
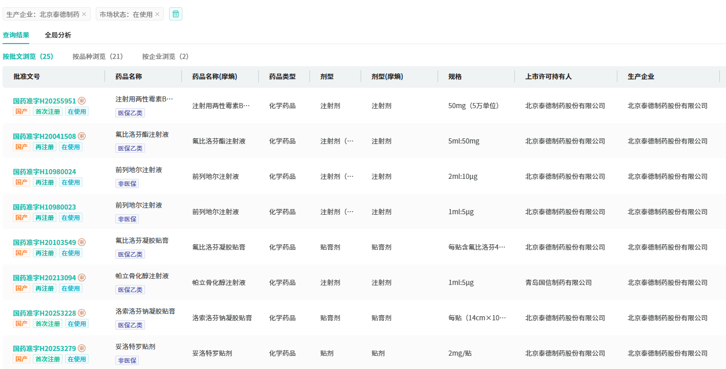
“泰德造”罗替高汀贴的成功上市,再次映衬了企业二十余年透皮技术积累与全链条产业能力。自2004年氟比洛芬酯注射液(凯纷®)获批上市奠定行业基础,泰德制药始终以透皮制剂为核心赛道持续深耕,构建了国内领先的贴剂产品矩阵。2010年,氟比洛芬凝胶贴膏(得百安®)的上市开启了外用抗炎镇痛的贴剂新时代;2018年,利多卡因凝胶贴膏(得百宁®)的获批进一步完善了疼痛治疗管线。截至目前,泰德制药(含子公司)有25款药获批上市。









川公网安备51019002008863号
本网站未发布麻醉药品、精神药品、医疗用毒性药品、放射性药品、戒毒药品和医疗机构制剂的产品信息
收藏
登录后参与评论
暂无评论