
15日,CDE官网显示,南京正大天晴递交的4类化药磷酸芦可替尼片上市申请获受理。这是首家报产该$37亿骨髓纤维化治疗药物品种的本土药企。

截图来源:CDE官网
芦可替尼是由Incyte开发的选择性JAK1/JAK2抑制剂,主要用于原发性血小板增多、骨髓纤维化、真性红细胞增多症、移植物抗宿主病等疾病。2009年11月,诺华与Incyte达成合作协议,获得芦可替尼美国以外商业化权利,商品名为Jakavi,Incyte则负责芦可替尼在美国的开发和商业化权利,商品名为Jakafi。
芦可替尼片剂最早于2011年11月首次在美国获批上市,据药融云统计,芦可替尼2021年全球销售额达37亿美元。在国内,磷酸芦可替尼片已被纳入国家医保品种(乙类),限中危或高危的原发性骨髓纤维化(PMF)、真性红细胞增多症继发的骨髓纤维化(PPV-MF)或原发性血小板增多症继发的骨髓纤维化 (PET-MF)的患者。据药融云全国医药销售数据库显示,磷酸芦可替尼片2021年销售额达3.5亿元,同比增长了115%,前景可观。
芦可替尼全球销售情况

截图来源:药融云全球药物研发数据库
此次南京正大天晴制药申报磷酸芦可替尼片上市,是首家申报仿制上市的本土企业。目前暂无其他企业布局。若后续顺利获批,将成为首仿。
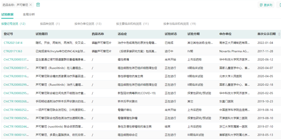
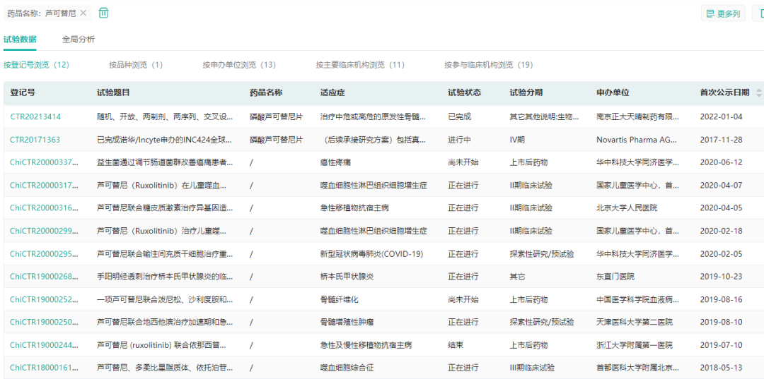
据药融云中国临床试验数据库显示,目前芦可替尼正在开展针对噬血细胞性淋巴组织细胞增生症、急性移植物抗宿主病、噬血细胞综合征等适应症的II或III期临床试验。
芦可替尼临床开展情况

截图来源:药融云中国临床试验数据库
此外,Incyte还开发了芦可替尼乳膏剂,其用于治疗特应性皮炎的适应症也已获得了FDA批准,商品名为Opzelura。尚未在国内上市。
芦可替尼药物基本信息

截图来源:药融云全球药物研发数据库
参考来源:
[1] CDE官网
[2] 药融云数据库
想要解锁更多药企仿制药信息吗?查询药融云数据库(https://www.pharnexcloud.com/?zmt-mhwz)掌握药企仿制药申报情况、审批信息、最新进展、一致性评价、市场竞争格局、销售情况,市场规模与前景,可否投入!注册立享15天免费试用和虎年首份医药数据大礼包!

—END—







川公网安备51019002008863号
本网站未发布麻醉药品、精神药品、医疗用毒性药品、放射性药品、戒毒药品和医疗机构制剂的产品信息
收藏
登录后参与评论
暂无评论