
2月28日,全球迎来第19个国际罕见病日。对于罕见病患者而言,这一天既是聚光灯下的关注与呼吁,也是现实困境的缩影——平均要看5-10位医生、耗费5-7年才能确诊;全球罕见病误诊率高达40%~60%,在中国这一数字也超过四成。
据WHO 2025年数据,已知罕见病超7000种,影响超3亿人。寡核苷酸疗法因机制独特,成罕见病新药研发重要突破方向。目前全球已有十多种获准治疗罕见病,上百项针对罕见病的管线在研,未来有望惠及更多患者。

尽管近年来国家医保药品目录常态化调整,一批高值罕见病药物通过国谈“以量换价”纳入医保,大幅降低了患者经济负担;普惠型商业保险也在普及,为患者家庭构筑起第二道防线,但对于部分年治疗费用高昂、需长期甚至终身用药的罕见病患者来说,支付痛点依旧像一座大山。
一、全球超千款品种获批上市,国内有188种罕见病药物
国家卫健委指定的《罕见病目录》共收录207种罕见病。根据沙利文2025年发布的《中国罕见病行业趋势观察报告》,截至2024年底,中国已有188种罕见病药物获批上市。

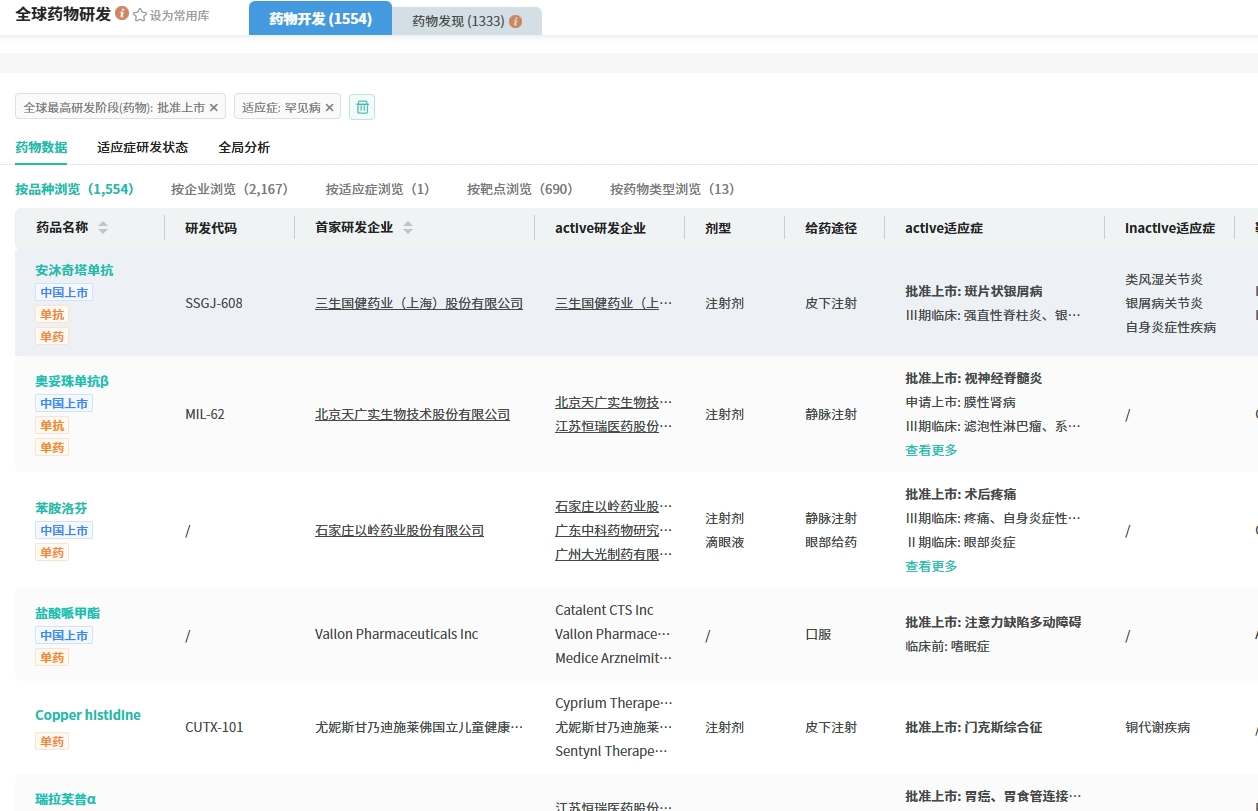
查数据,找摩熵!图源:摩熵医药-全球药物研发数据库
这张成绩单背后,是从无到有的艰难跨越。放眼全球,摩熵医药数据库显示,针对罕见病的获批上市药物有超千款品种,覆盖多个病种与治疗路径。虽然中国尚未完全追平,但在政策红利与创新浪潮的双重推动下,我们已经看到了差距缩小的加速度。
二、恒瑞医药:罕见病赛道的“超级玩家”
作为中国创新药领军企业,恒瑞医药在罕见病领域的布局正在加速,覆盖国内外多个罕见病目录。这绝非简单的“蹭热点”,而是一场多点开花的战略卡位。
此外,目前恒瑞医药有多款药物正在开展罕见病治疗临床研究,呈现出“内外兼修、上下求索”的态势。
- 在国内战场,公司瞄准了第一批罕见病目录中的“硬骨头”。在阵发性睡眠性血红蛋白尿(PNH)、纯合子家族性高胆固醇血症(HoFH)、特发性肺纤维化(IPF)、特发性心肌病等领域,恒瑞正在积极推进相关产品的研究进展。就在2026年2月24日,公司ANGPTL3全人源单克隆抗体用于治疗成人和12岁及以上的未成年人HoFH患者的适应症上市申请获国家药监局受理且被纳入优先审评程序,有望为这一罕见病治疗带来新选择。
- 在第二批目录与国际舞台,公司的触角延伸至移植物抗宿主病(GVHD)、胃肠胰神经内分泌瘤、骨肉瘤(含脊索瘤)、胶质母细胞瘤,乃至欧洲罕见病目录中的外周T细胞淋巴瘤(PTCL)、骨髓瘤、滤泡性淋巴瘤(FL)等。
显然,恒瑞的目标不是“浅尝辄止”,而是要在罕见病这一高壁垒领域构建起完整的研发矩阵。
三、恒瑞5款创新药,获美国FDA孤儿药认定
截至目前,公司已有5款创新药获美国FDA孤儿药认定。2025年8月,HER2 ADC联合人源化抗PD-L1单克隆抗体和化疗用于胃癌或胃食管结合部腺癌适应症获得了美国FDA授予的孤儿药资格认定。

截图来源:恒瑞企业官网
此前,公司BTK抑制剂用于视神经脊髓炎谱系疾病(NMOSD)、新一代TPO-RA药物用于化疗所致血小板减少症(CTIT)、PD-1抑制剂用于肝细胞癌一线治疗均被美国FDA授予孤儿药资格。
结语
罕见病患者的困境,不仅在于确诊的漫长与误诊的高风险,更在于治疗的可及性与支付压力。国家医保、商保的“双保险”已在一定程度上缓解了经济负担,但高值、长期用药的痛点仍需依靠更多创新药上市、价格优化与政策支持来破解。
恒瑞医药在多个国内外罕见病目录中的布局,以及不断获得的国际孤儿药资格,释放了一个积极信号:中国药企正从“跟跑”走向“并跑”,在罕见病这一高门槛领域,为更多患者提供可负担、可获得的创新治疗方案。
在国际罕见病日之际,我们期待,随着政策、资本、研发的多方合力,罕见病患者的确诊路能更短,用药路能更宽。
参考来源:
[1] 摩熵医药(原药融云)数据库
[2] 企业官方披露
扩展阅读:
1. 2026年全球罕见病行业概览:定义、政策、患者分布与药物可及性分析
2. 2026年罕见病政策分析:中、美、日、欧如何破解药物研发与可及性难题?
3. 2025年全球五大热门研发罕见病:黑色素瘤、胶质母细胞瘤、多发性硬化...
查数据,找摩熵!想要解锁更多疾病领域信息吗?查询摩熵医药(原药融云)数据库(vip.pharnexcloud.com/?zmt-mhwz)掌握疾病领域涉及药物信息、销售情况与各维度分析、市场竞争格局、创新药研发情况、仿制药布局情况、最新进展、市场规模与前景等,以及帮助企业抉择可否投入仿制与研发时提供数据参考!注册立享15天免费试用!基于真实世界研究及大数据分析








川公网安备51019002008863号
本网站未发布麻醉药品、精神药品、医疗用毒性药品、放射性药品、戒毒药品和医疗机构制剂的产品信息
收藏
登录后参与评论
暂无评论