
近日,据NMPA官网公示,齐鲁制药和江苏恩华药业提交的阿普唑仑片化药同日通过一致性评价。据药融云数据统计,阿普唑仑在2022年全国院内销售(化学和生物药)抗焦虑药市场,为TOP5品种,市场份额近10% 。此外,该品种目前多家企业布局,超50家企业获批。

截图来源:NMPA官网
阿普唑仑是1981年 Upjohn 公司(后被辉瑞收购)推出的抗焦虑与镇定药物。在2023年,《国家基本保险药品目录(2022年)》显示,阿普唑仑已经被纳入其中。阿普唑仑属于精神科常用药物,主要用于焦虑、紧张、激动,也可用于催眠或焦虑的辅助用药,也可作为抗惊恐药,并能缓解急性酒精戒断症状。
阿普唑仑市场近10%,江苏恩华跻身前三
据药融云数据统计,在全国院内销售(化学和生物药)抗焦虑药市场格局主要由8种药物占据,包括坦度螺酮、奥沙西泮、丁螺环酮、劳拉西泮、阿普唑仑、地西泮、瑞马唑仑、复方地西泮。其中阿普唑仑在2022年全国院内销售超1亿元,同比增长达19.18%。

截图来源:药融云全国医院销售数据库
在2022年全国院内市场份额中,坦度螺酮的销售额超过25%,市占率第一,劳拉西泮、奥沙西泮的市占率均超过15%,阿普唑仑市占率近10%,瑞马唑仑、地西泮、坦度螺酮药物市占率均在5%以上。

截图来源:药融云全国医院销售数据库-全局分析
从企业来看,四川科瑞德制药在抗焦虑药市场中位列第一,而北京益民药业和江苏恩华药业紧随其后,跻身第二和第三名。此外,江苏恒瑞医药、山东信谊制药、湖南洞庭制药、佳友制药等7家企业也成功进入市场前十名。

截图来源:药融云全国医院销售数据库-全局分析
多家药企布局阿普唑仑,主要以片剂的方式销售
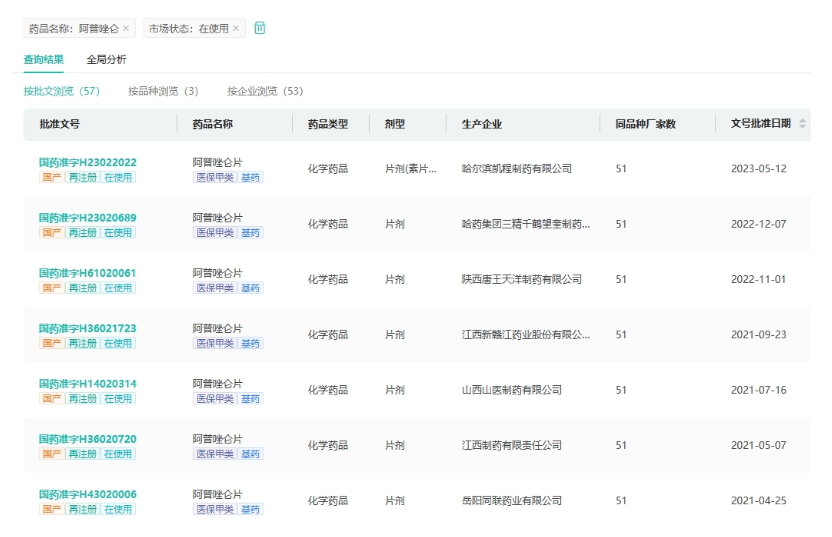
据药融云数据统计,目前阿普唑仑共有53家国内企业获批生产。其中,大部分企业的阿普唑仑都为片剂,而黑龙江瑞格制药的阿普唑仑为胶囊剂。

截图来源:药融云中国药品批文数据库
在抗焦虑药中,齐鲁仅获批了阿普唑仑。而江苏恩华药业除此次获批的阿普唑仑之外,还有一款丁螺环酮片。
<END>
要解锁更多企业药品研发信息吗?查询药融云数据库(vip.pharnexcloud.com/?zmt-mhwz)掌握药品各国上市情况、药品批文信息、销售情况与各维度分析、市场竞争格局、一致性评价情况、集采中标情况、药企申报审批信息、最新动态与前景等,以及帮助企业抉择可否投入时提供数据参考!注册立享15天免费试用!








川公网安备51019002008863号
本网站未发布麻醉药品、精神药品、医疗用毒性药品、放射性药品、戒毒药品和医疗机构制剂的产品信息
收藏
登录后参与评论
暂无评论