
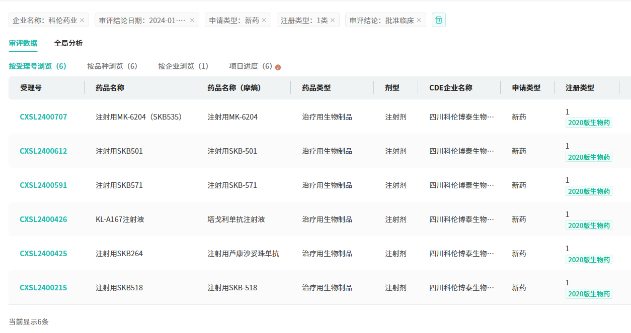
近日,科伦药业捷报频传。据科伦药业发布公告,其子公司科伦博泰的国产ADC药物芦康沙妥珠单抗(sac-TMT),针对晚期三阴性乳腺癌(TNBC)患者,获NMPA批准上市。此外,2024年国家医保药品目录调整中,科伦药业有5款产品纳入新进医保。

截图来源:企业公告
5大品种纳入新医保,两款粉液双室袋在列
随着2024年国家医保药品目录调整工作顺利结束,科伦药业有5款产品纳入新进医保,包括注射用头孢他啶阿维巴坦钠/ 氯化钠注射液 、注射用头孢他啶/5%葡萄糖注射液两款粉液双室及三款其他药品(中长链脂肪乳氨基酸(16)葡萄糖(36%)注射液、ω-3鱼油中/长链脂肪乳注射液、布比卡因脂质体注射液)纳入《2024年药品目录》,这将有利于促进公司产品拓展市场网络、提升销售规模。
粉液双室袋作为一种新型全封闭输液配制系统,目前,全球粉液双室袋市场被外资企业垄断,而在中国尚处于起步阶段,粉液双室袋在国内已有北京锐业、四川科伦等企业产品获批。随着需求增长,预计到2029年,全球市场规模将超过160亿元。

科伦长期以来深耕抗感染领域,产品覆盖抗病毒、抗真菌、抗细菌等多个领域,目前已有系列抗感染产品获批或通过一致性评价。在高端抗感染领域有注射用头孢他啶阿维巴坦钠/氯化钠注射液、注射用头孢他啶阿维巴坦钠、泊沙康唑肠溶片、泊沙康唑口服混悬液、泊沙康唑注射液等产品获批上市。据摩熵医药数据库显示,注射用头孢他啶阿维巴坦钠在2023年全国院内市场的销售额超8亿元。










川公网安备51019002008863号
本网站未发布麻醉药品、精神药品、医疗用毒性药品、放射性药品、戒毒药品和医疗机构制剂的产品信息
收藏
登录后参与评论
暂无评论